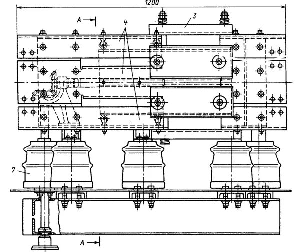
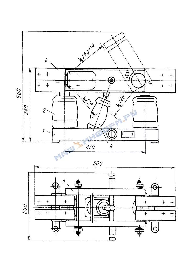
Рвк 10 разъединитель