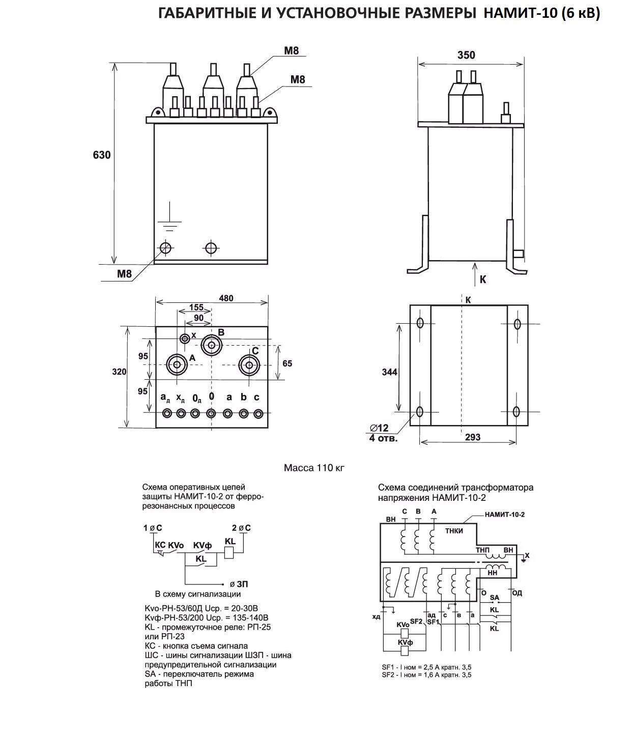
Зажимы трансформатора напряжения