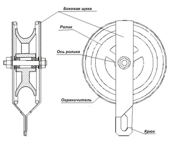
Закрепить ось