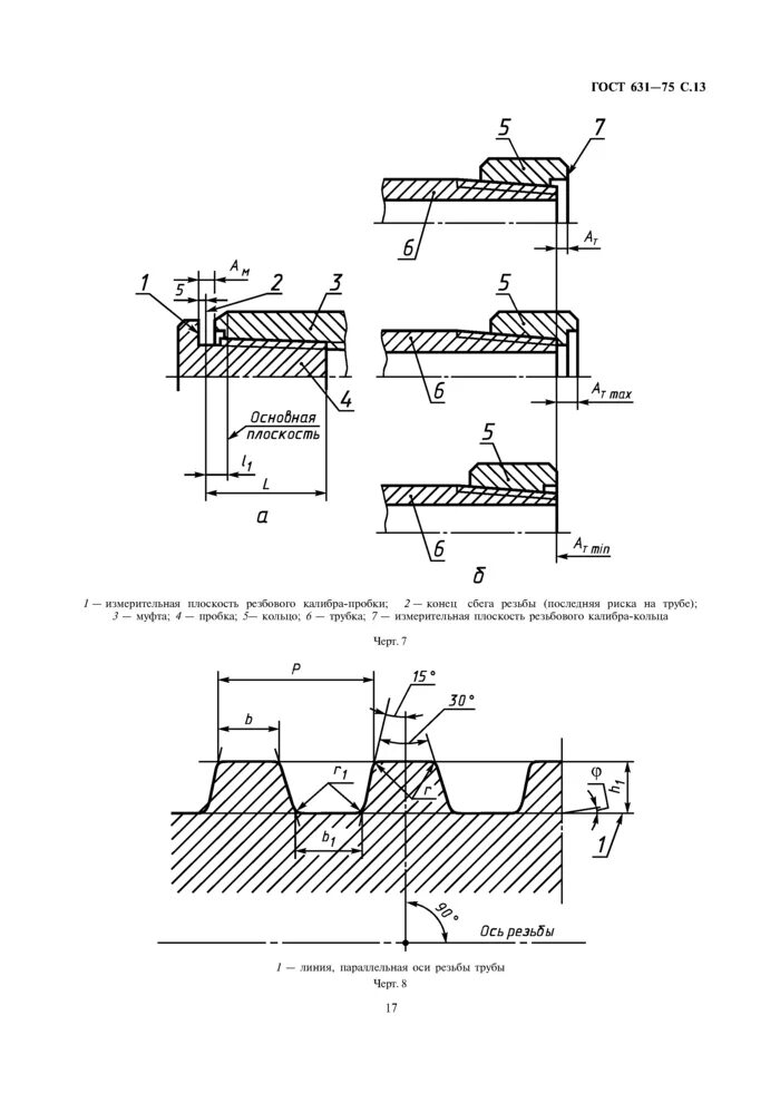
Высадить конец трубы