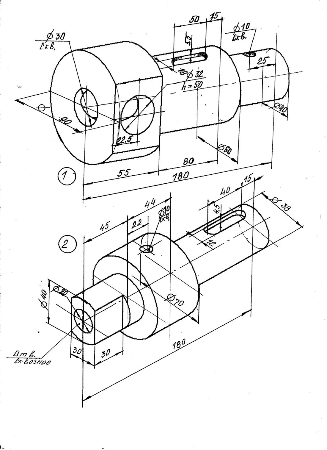
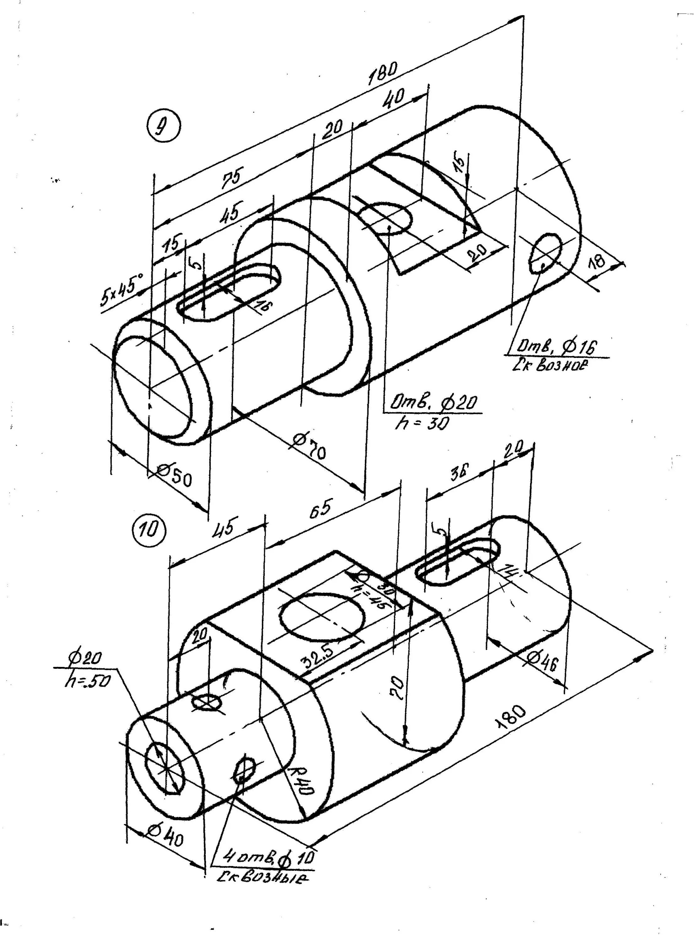
Выполнить сечения вала