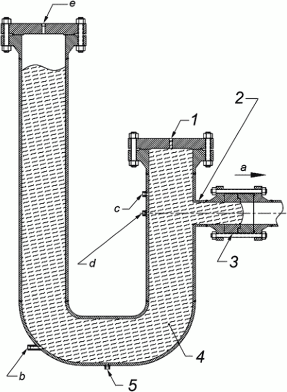
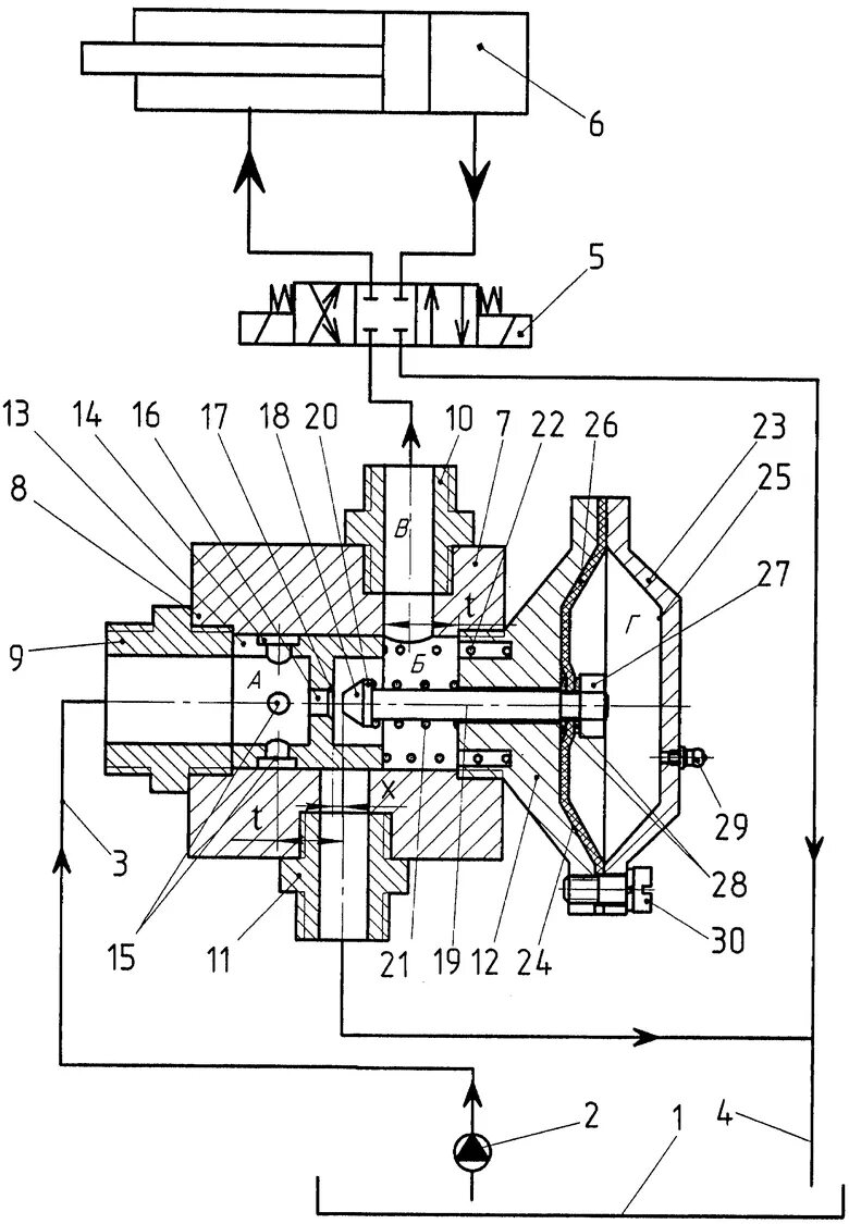
Выкидное предохранительное устройство