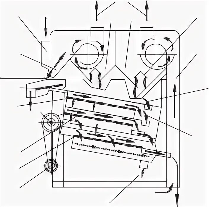
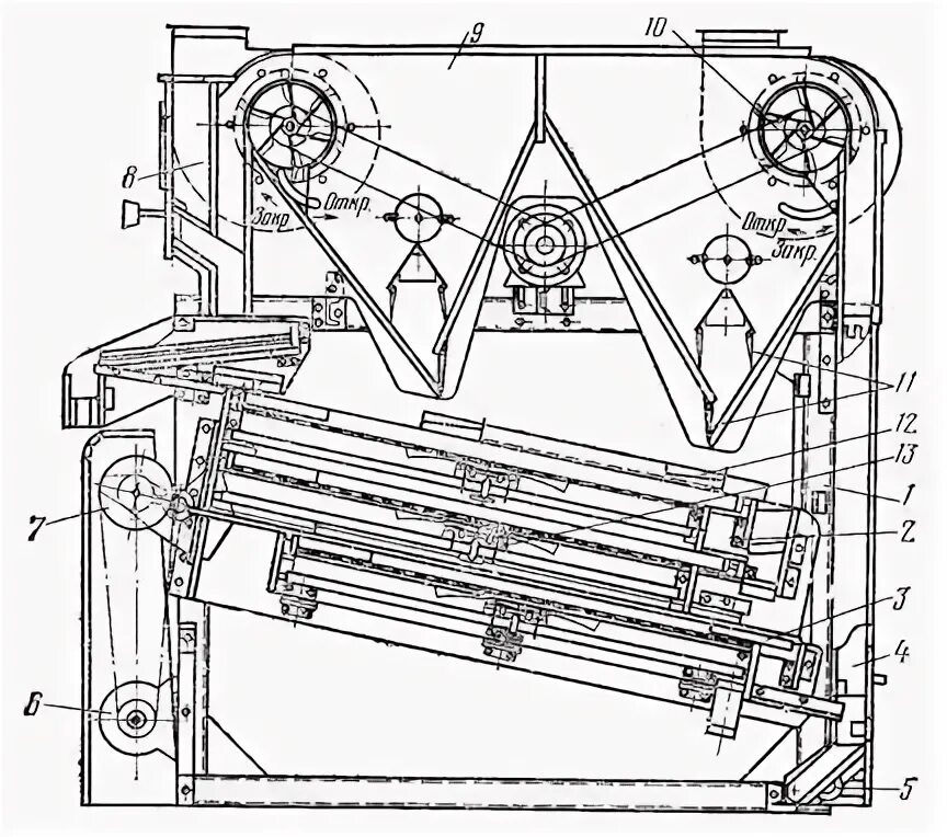
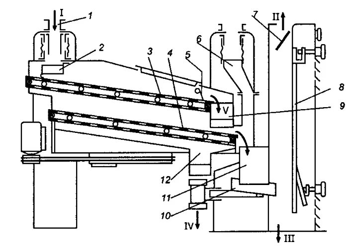
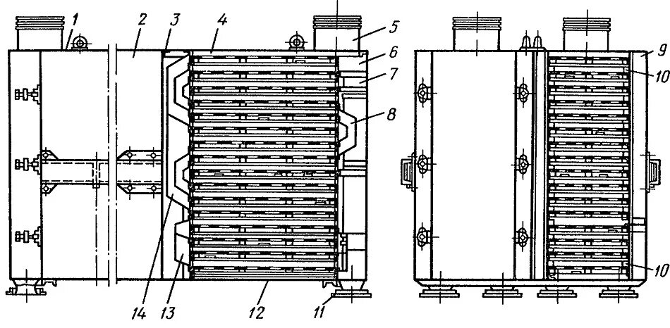
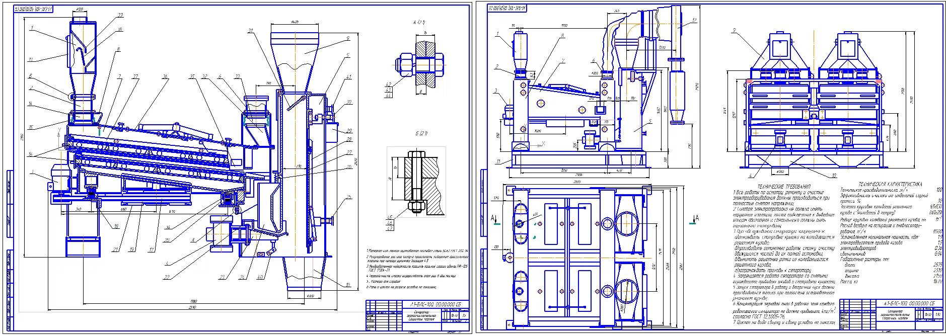
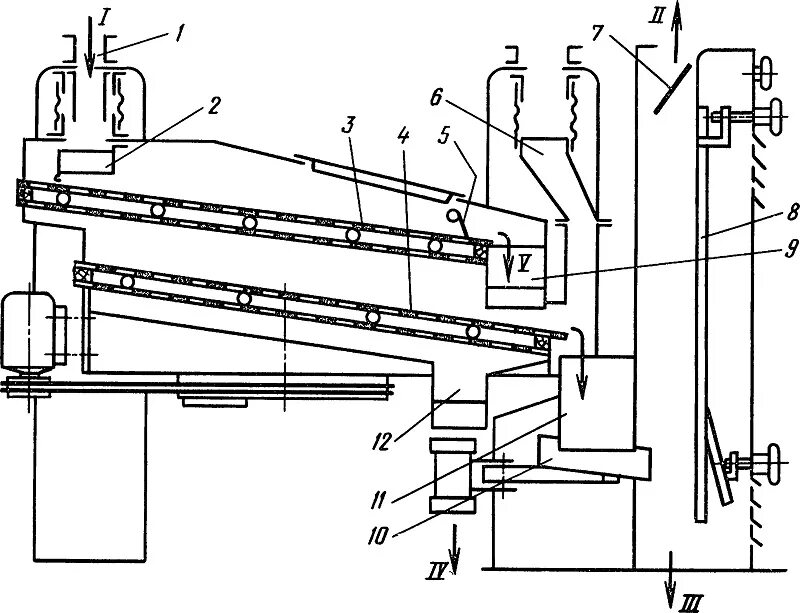
Воздушно ситовый сепаратор