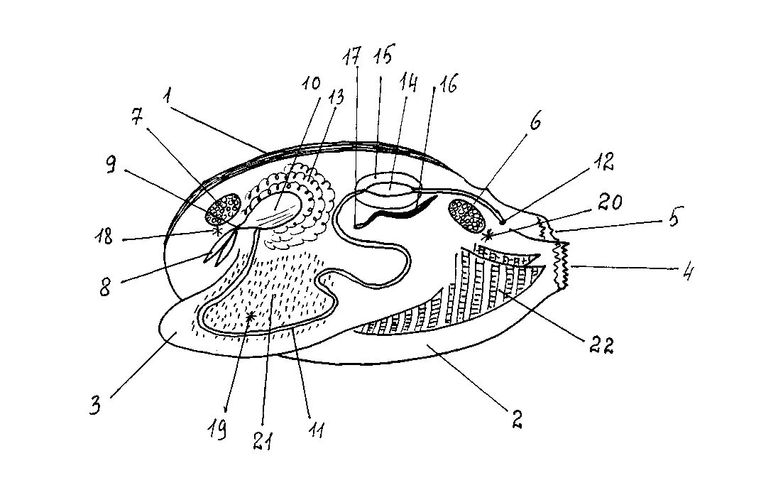
Внешнее и внутреннее строение беззубки