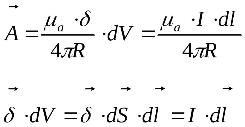
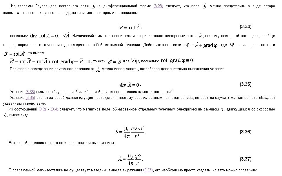
Вектор потенциал магнитного поля