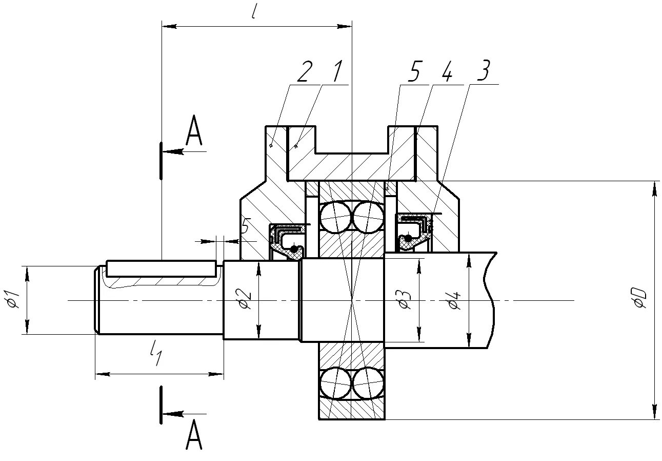
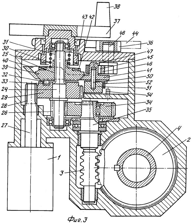
Вал исполнительного механизма