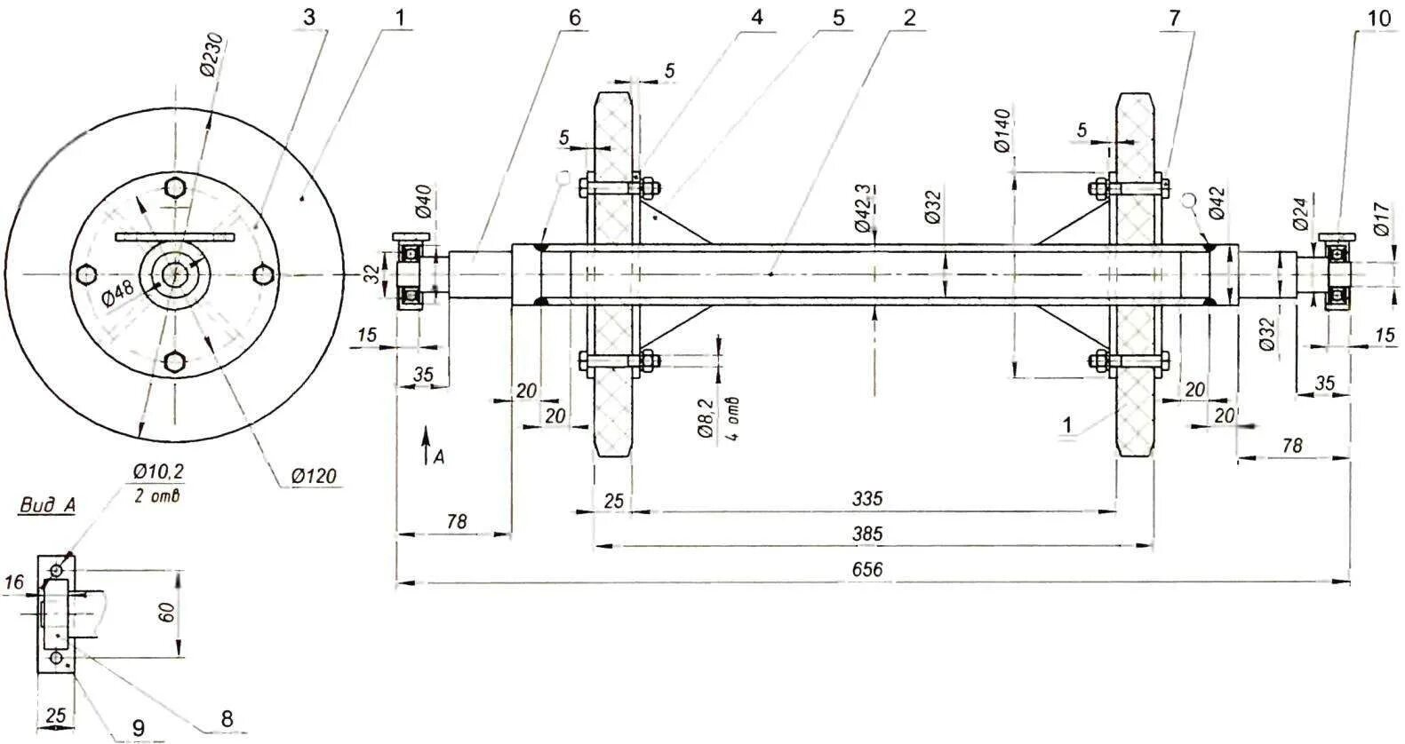
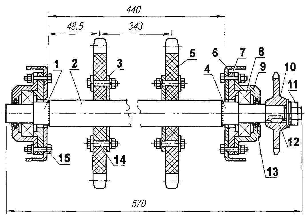
Вал гусеницы снегохода