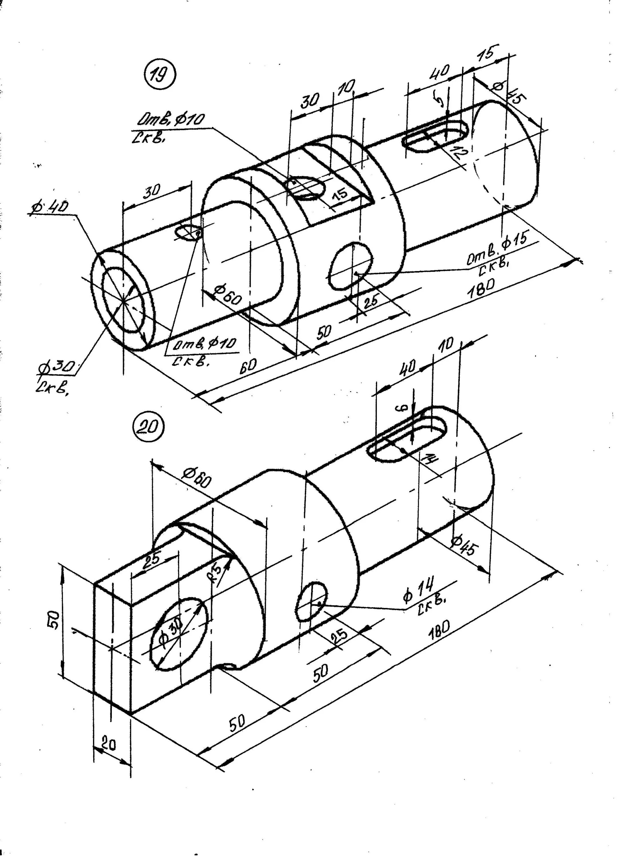
Вал 4 вариант