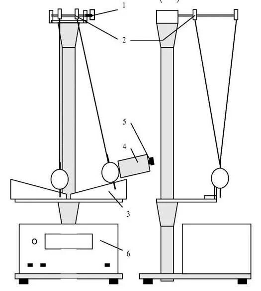
В процессе нагревания стальной шарик