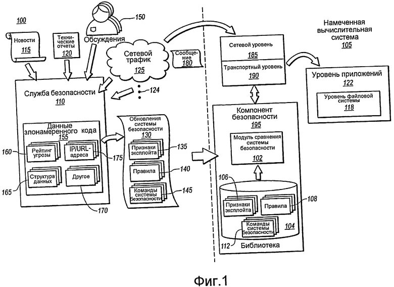
Уязвимое программное обеспечение