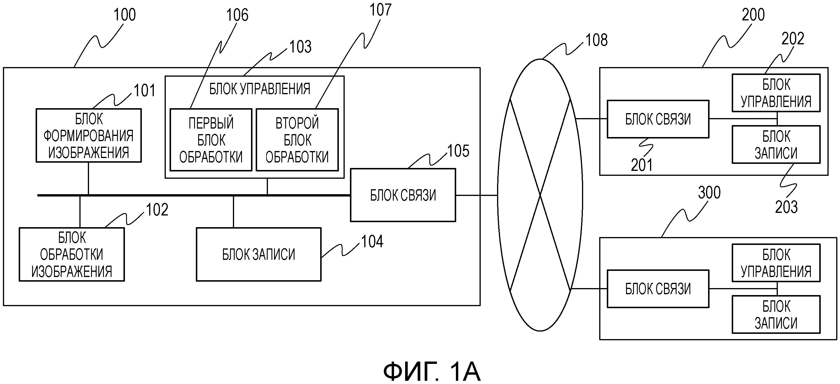
Устройство управления устройство обработки данных