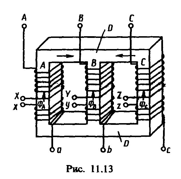
Устройство трехфазного трансформатора тока