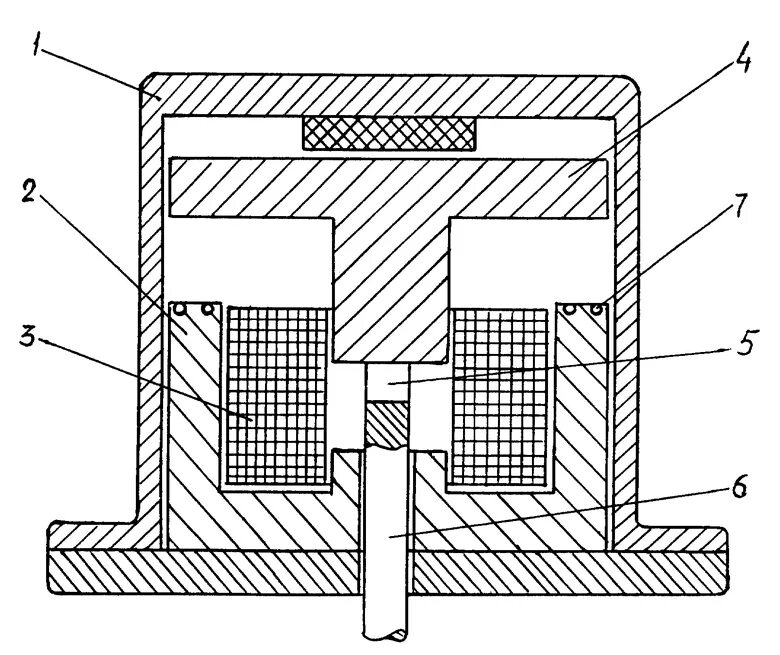
Устройство состоящее из катушки и железного сердечника