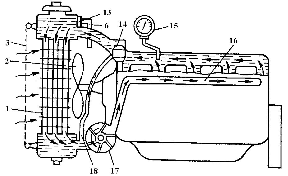
Устройство системы жидкостного охлаждения двигателя