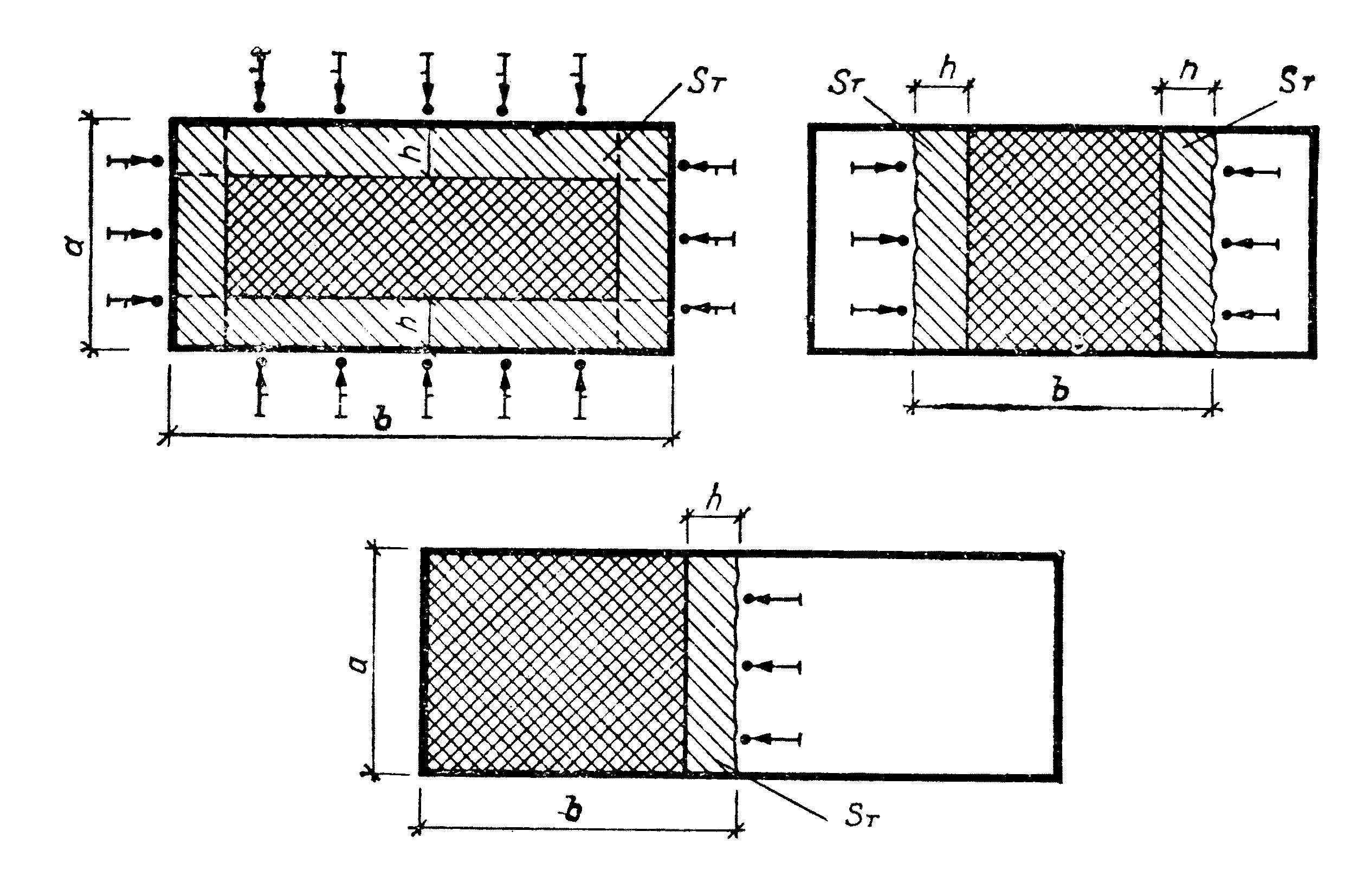
Устройство прямоугольной формы