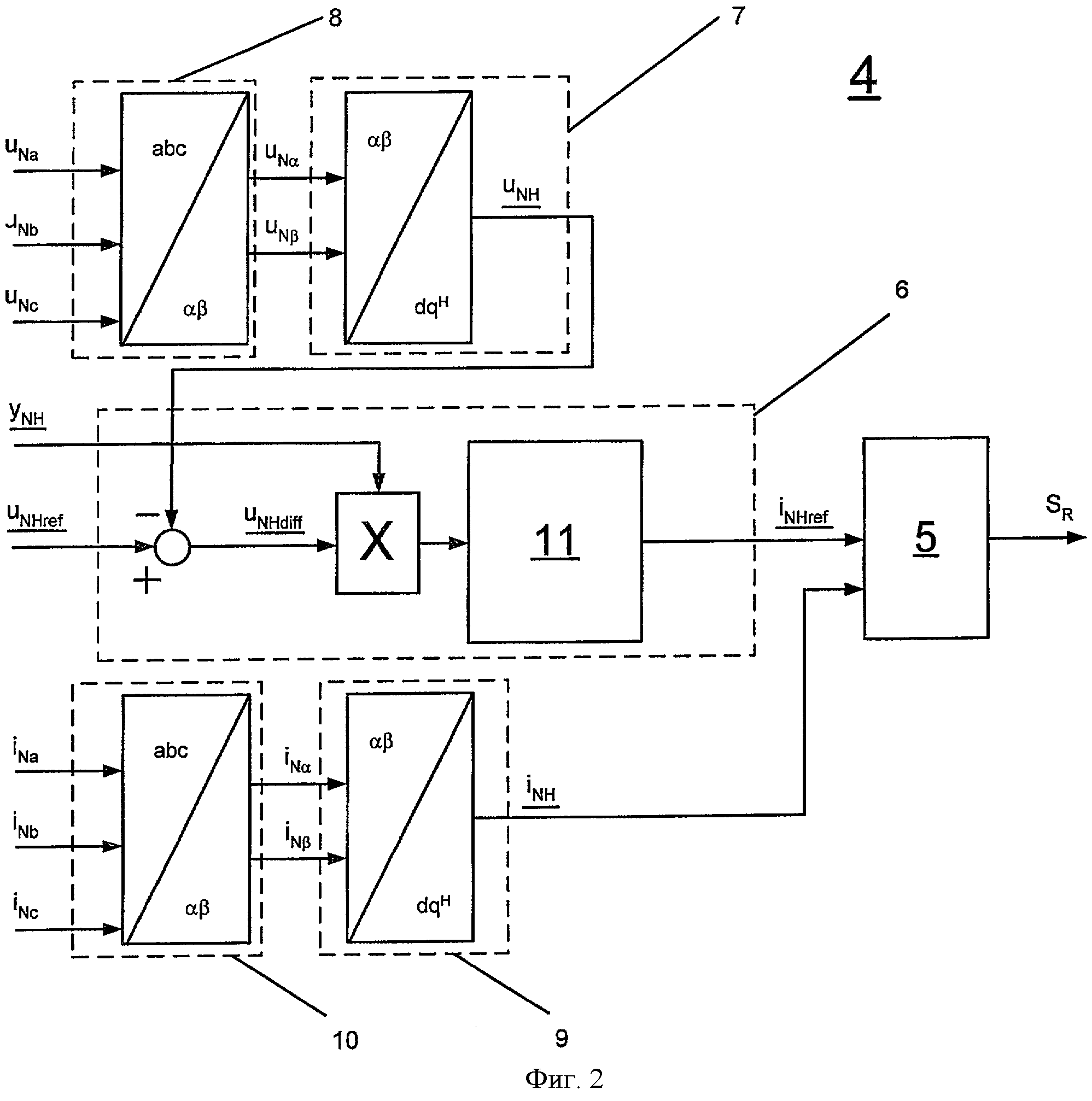
Устройство и работа преобразователя