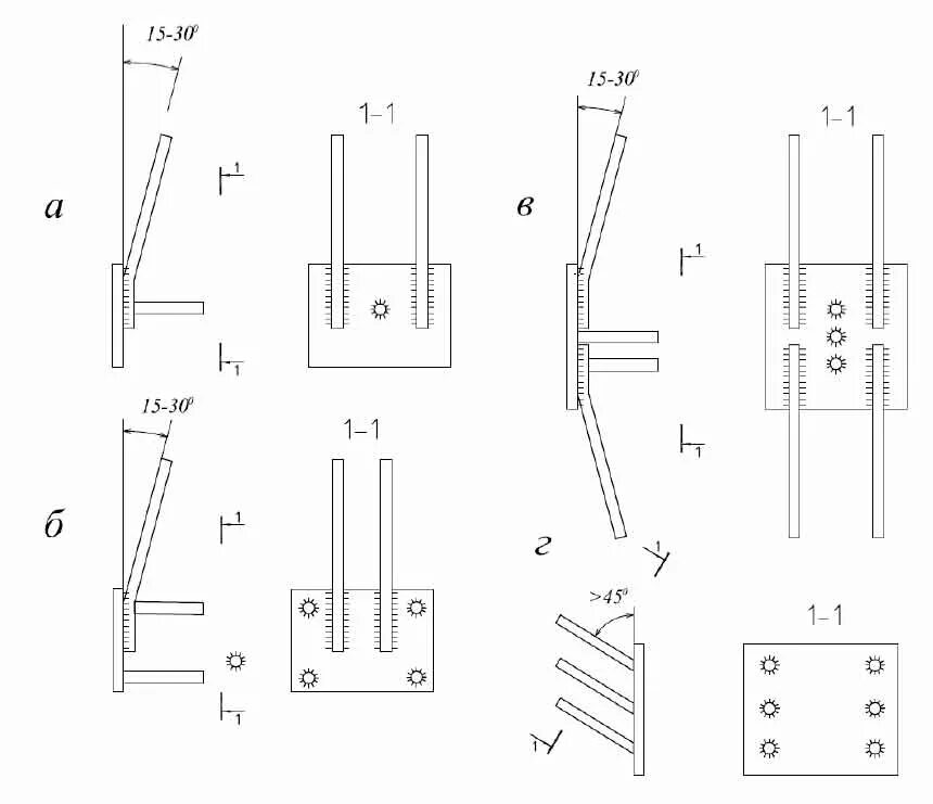
Установка закладных устройств