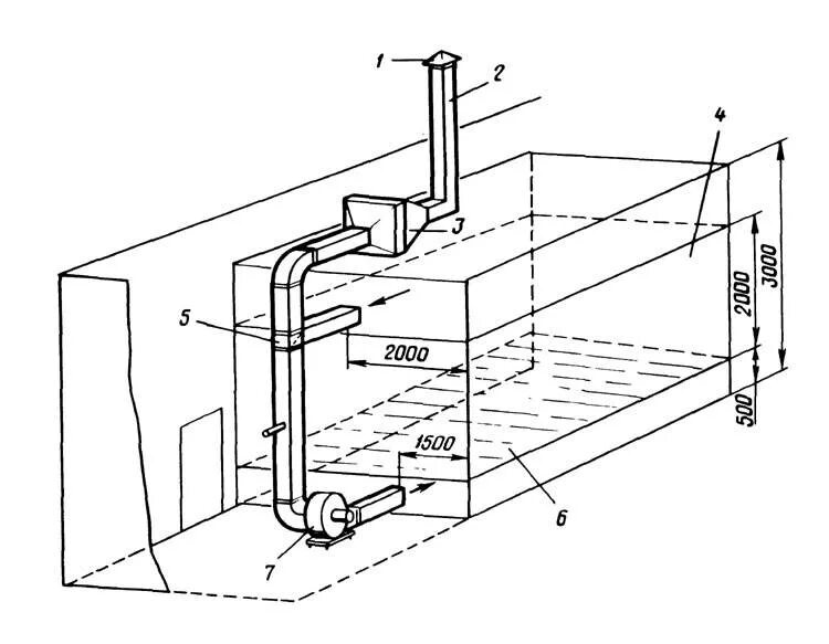
Установка вытяжных устройств