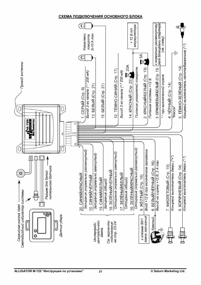
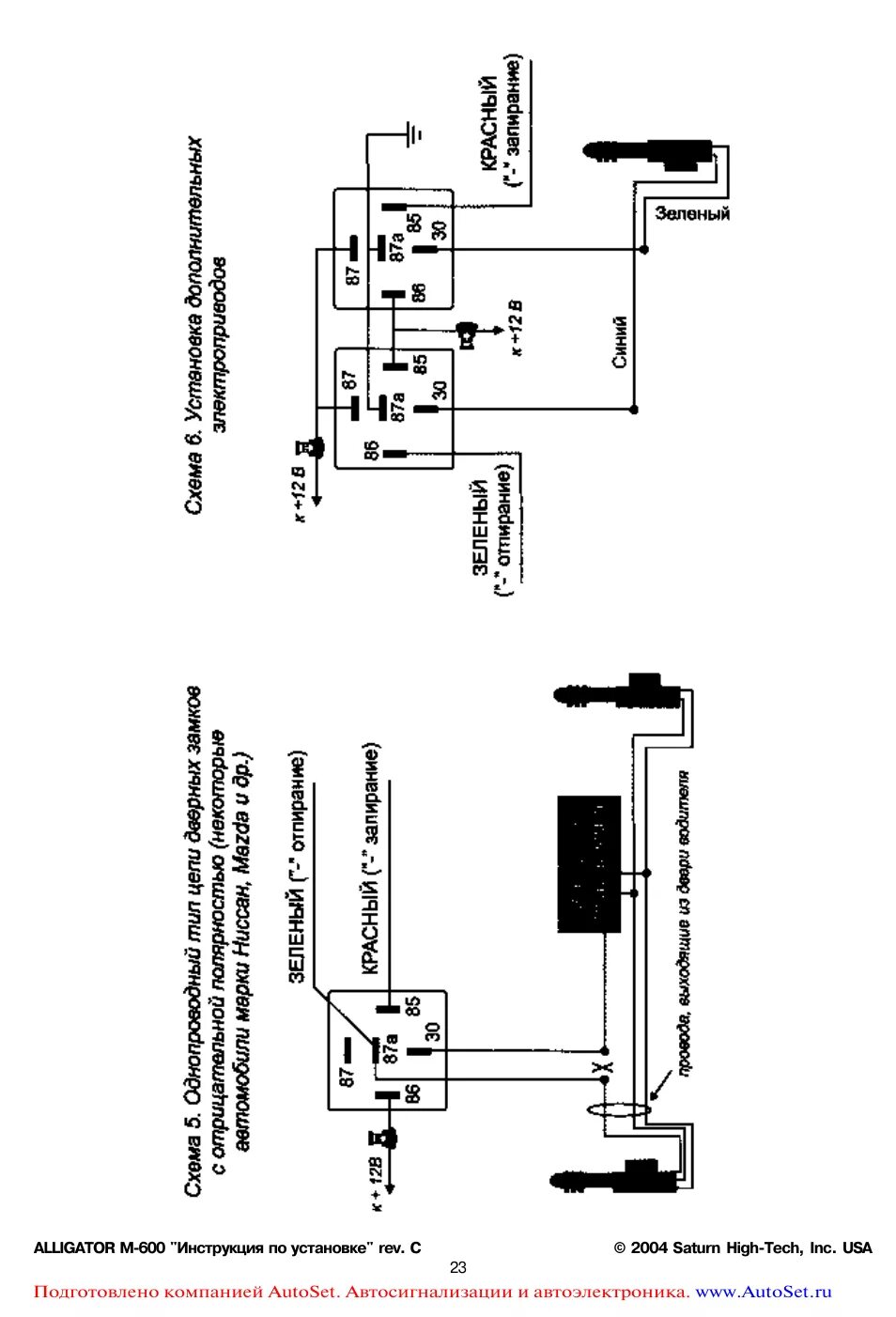
Установка сигнализации аллигатор