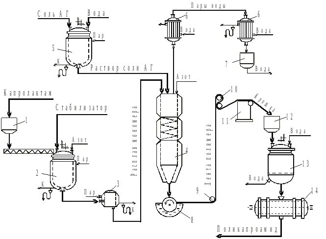
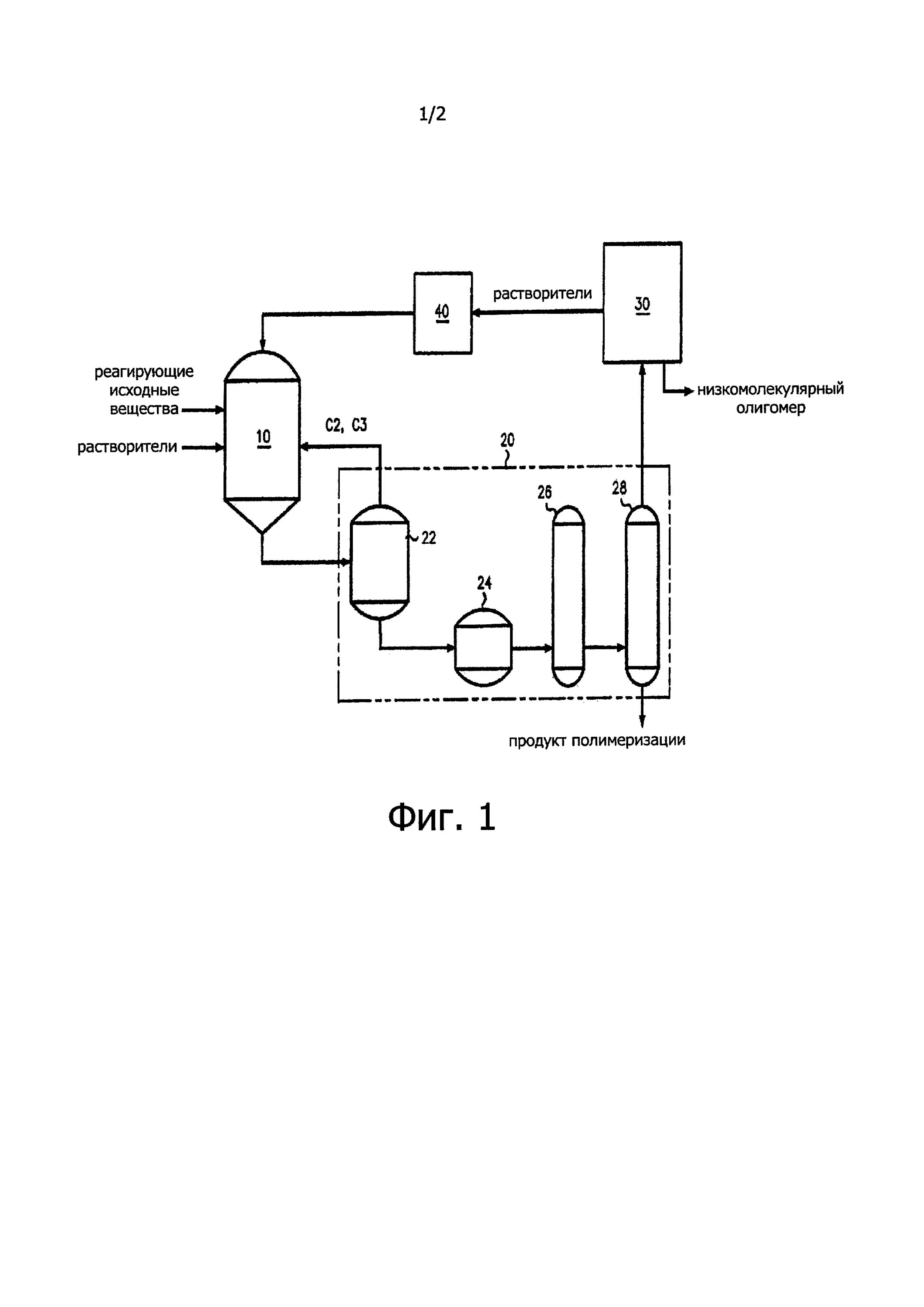
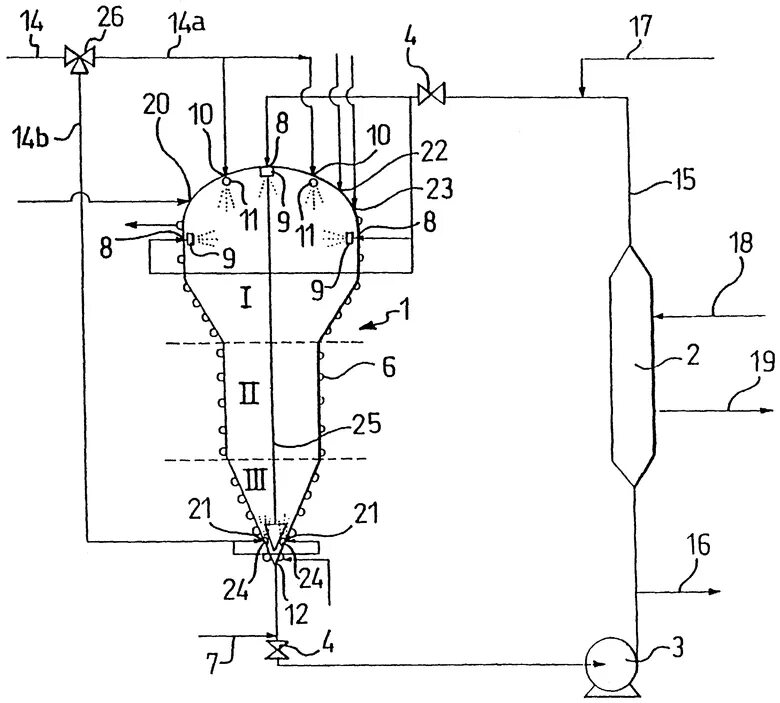
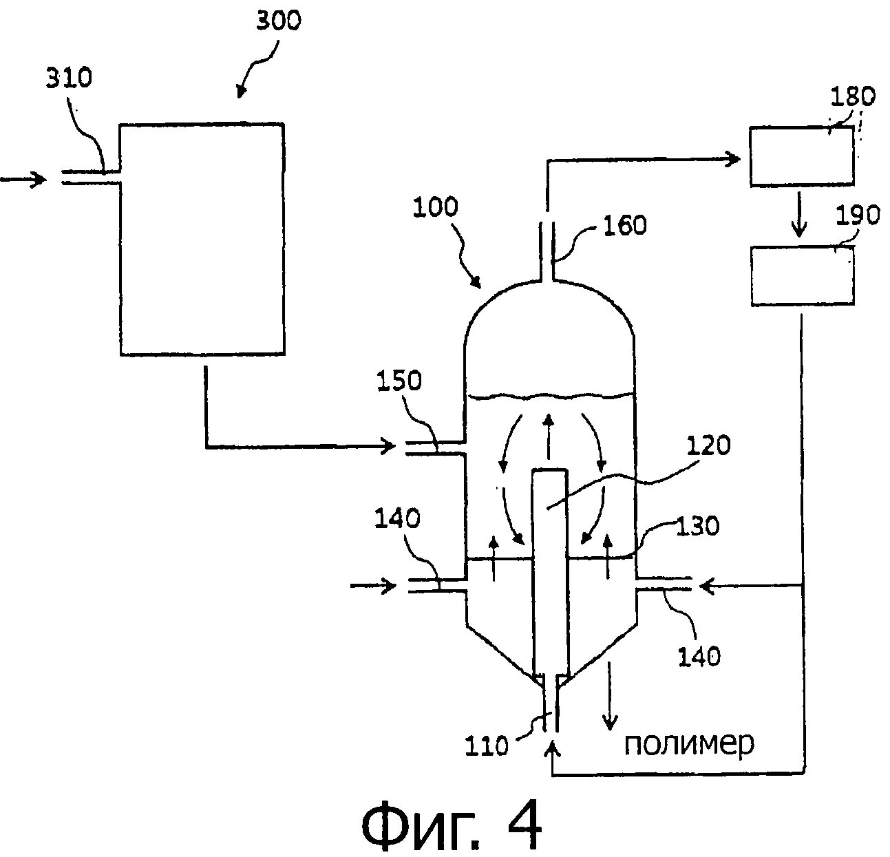
Установка полимеризации