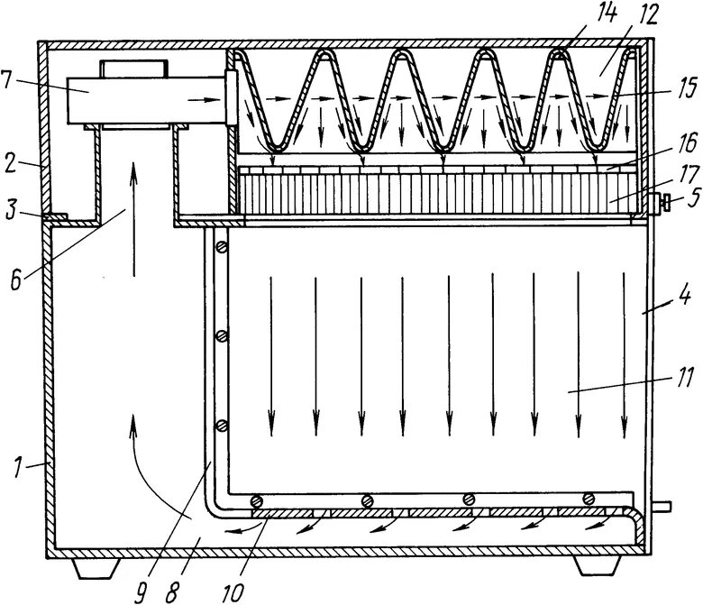
Установка обеспыливания одежды