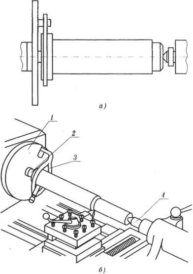
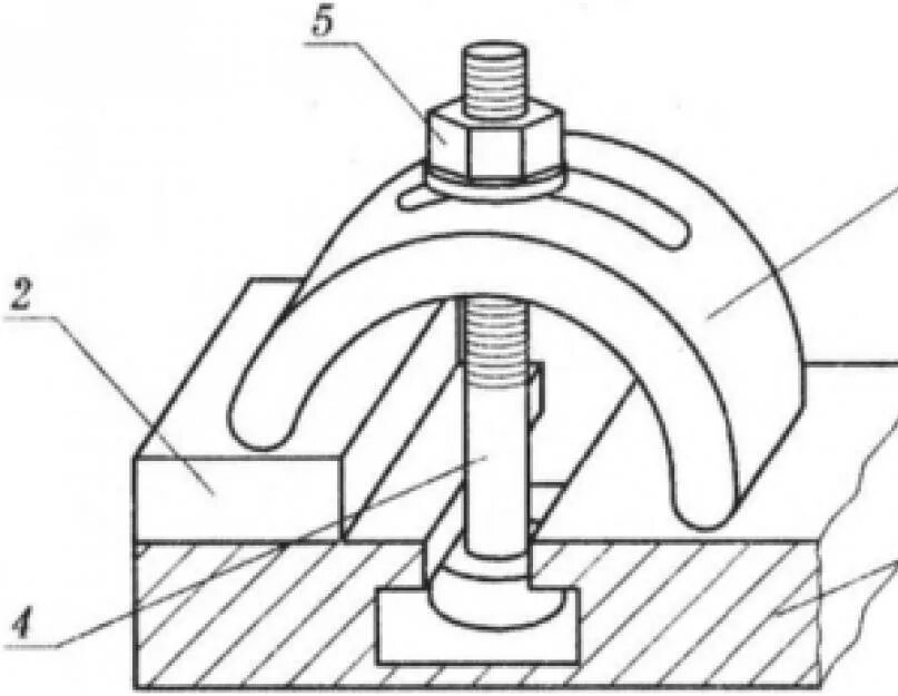
Установка и закрепление заготовки