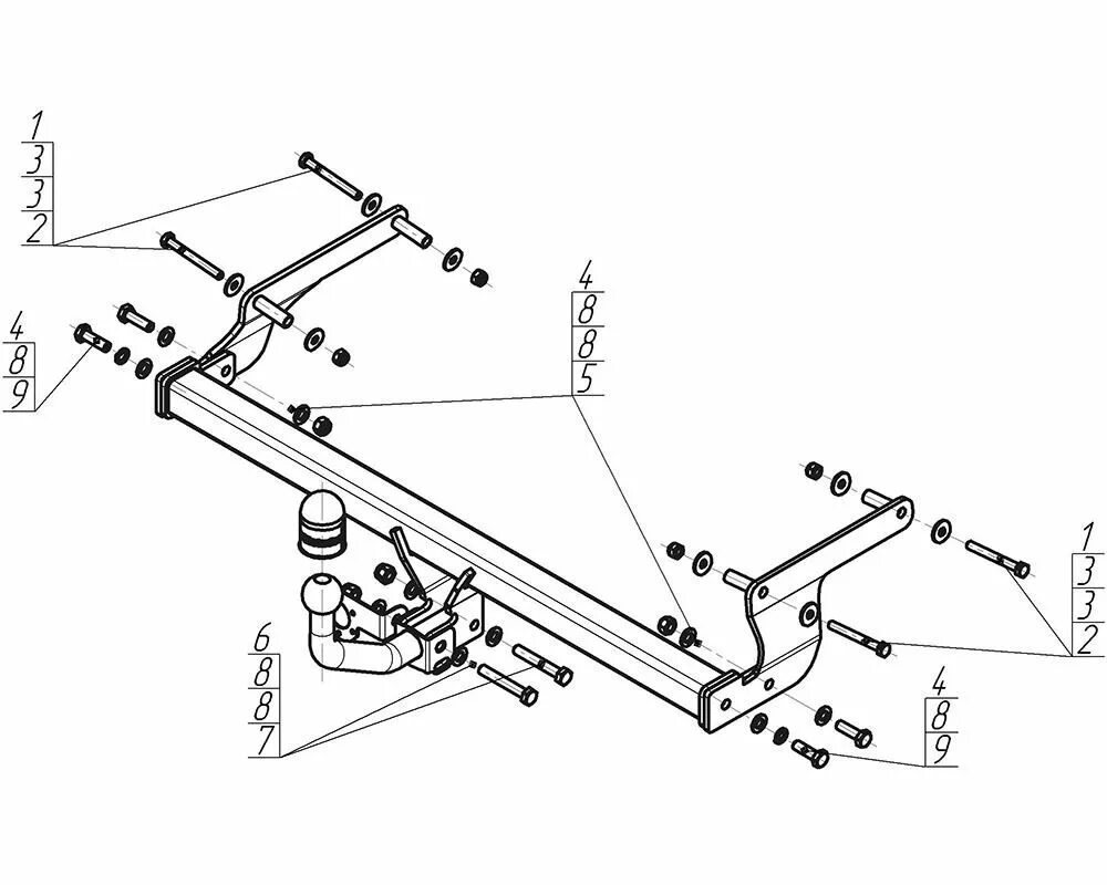
Установка фаркоп на логан 1