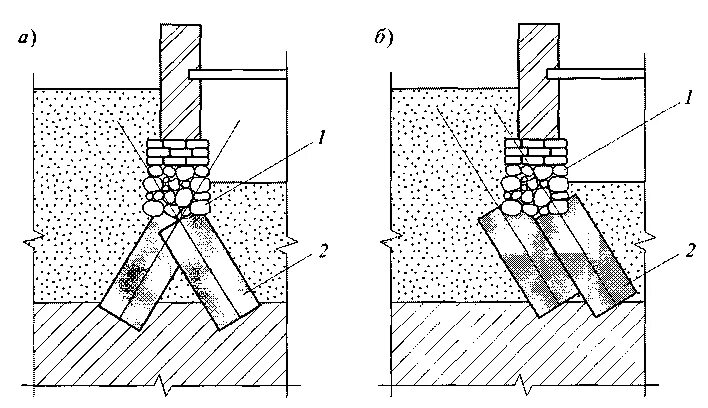
Усиления фундамента методом инъектирования