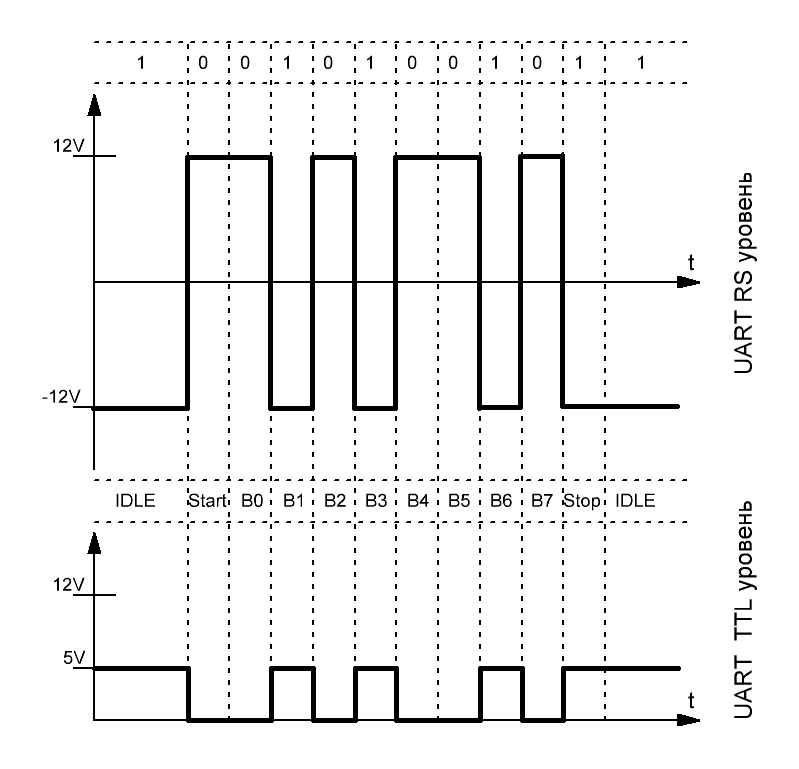
Уровень рс