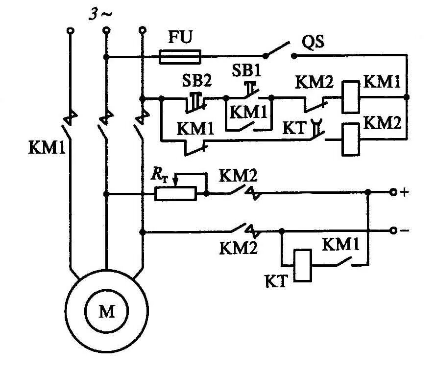
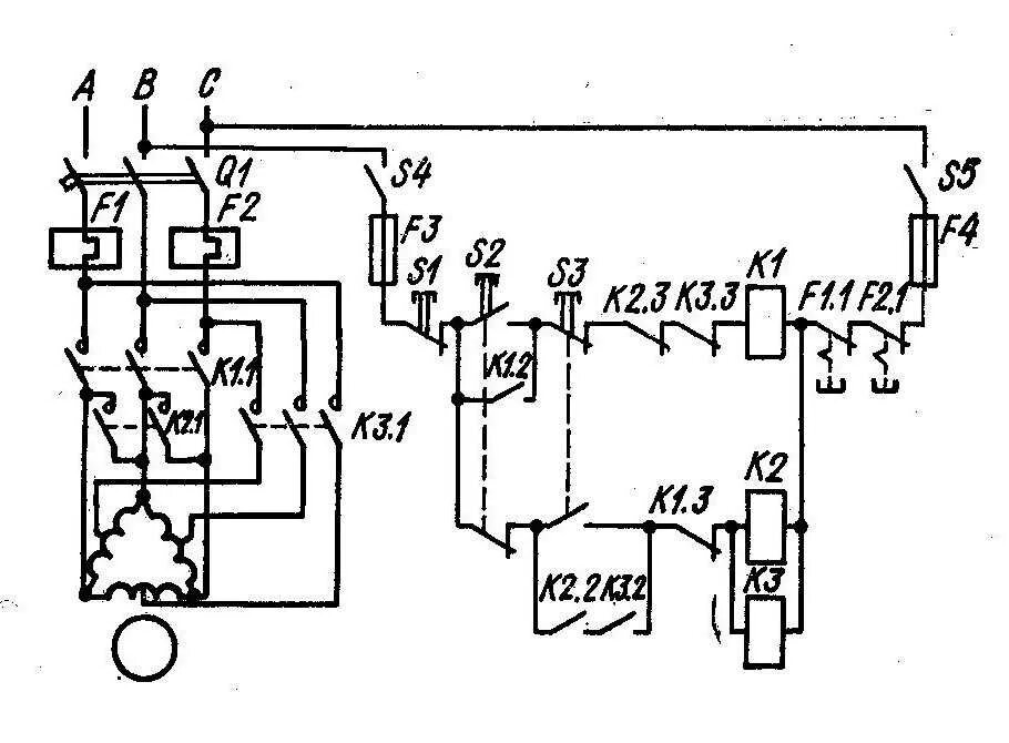
Управление асинхронного электродвигателя