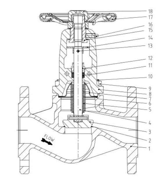
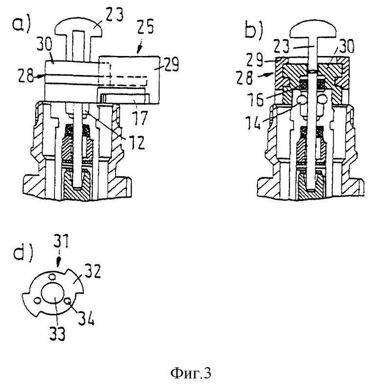
Уплотняющий клапан