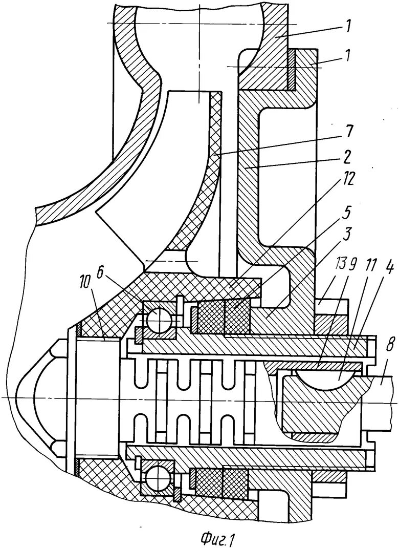
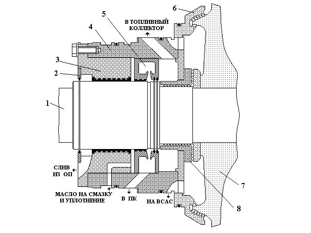
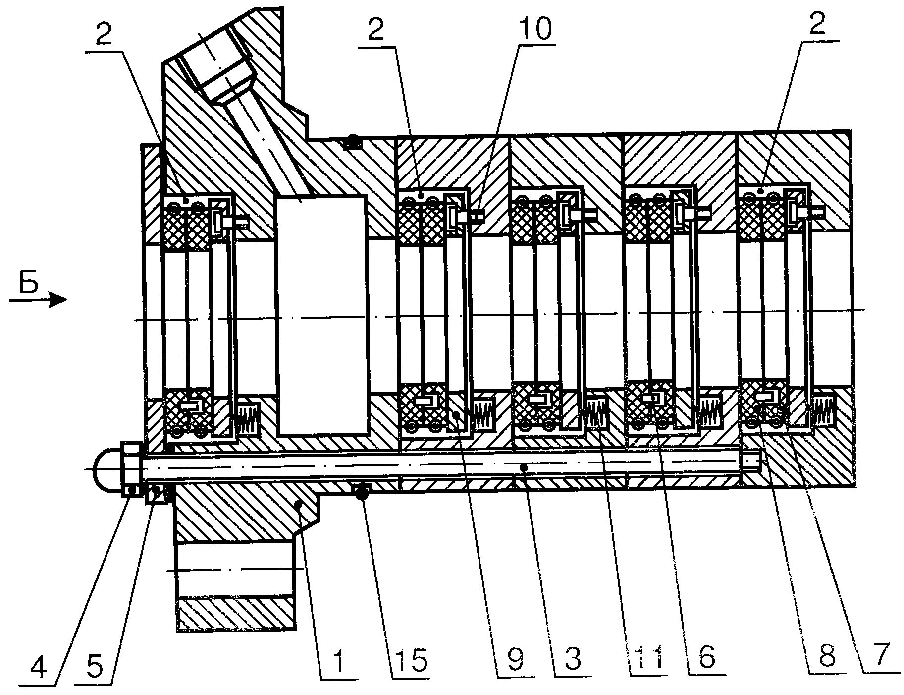
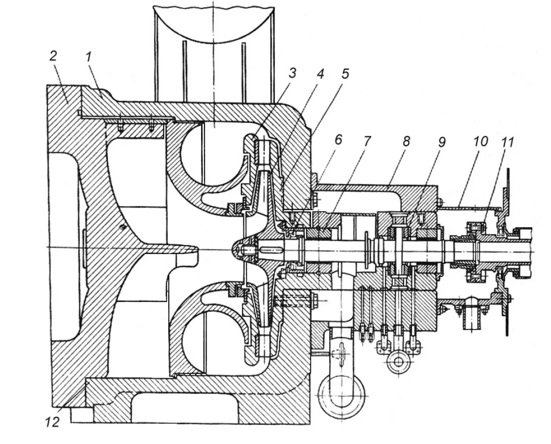
Уплотнение нагнетателя