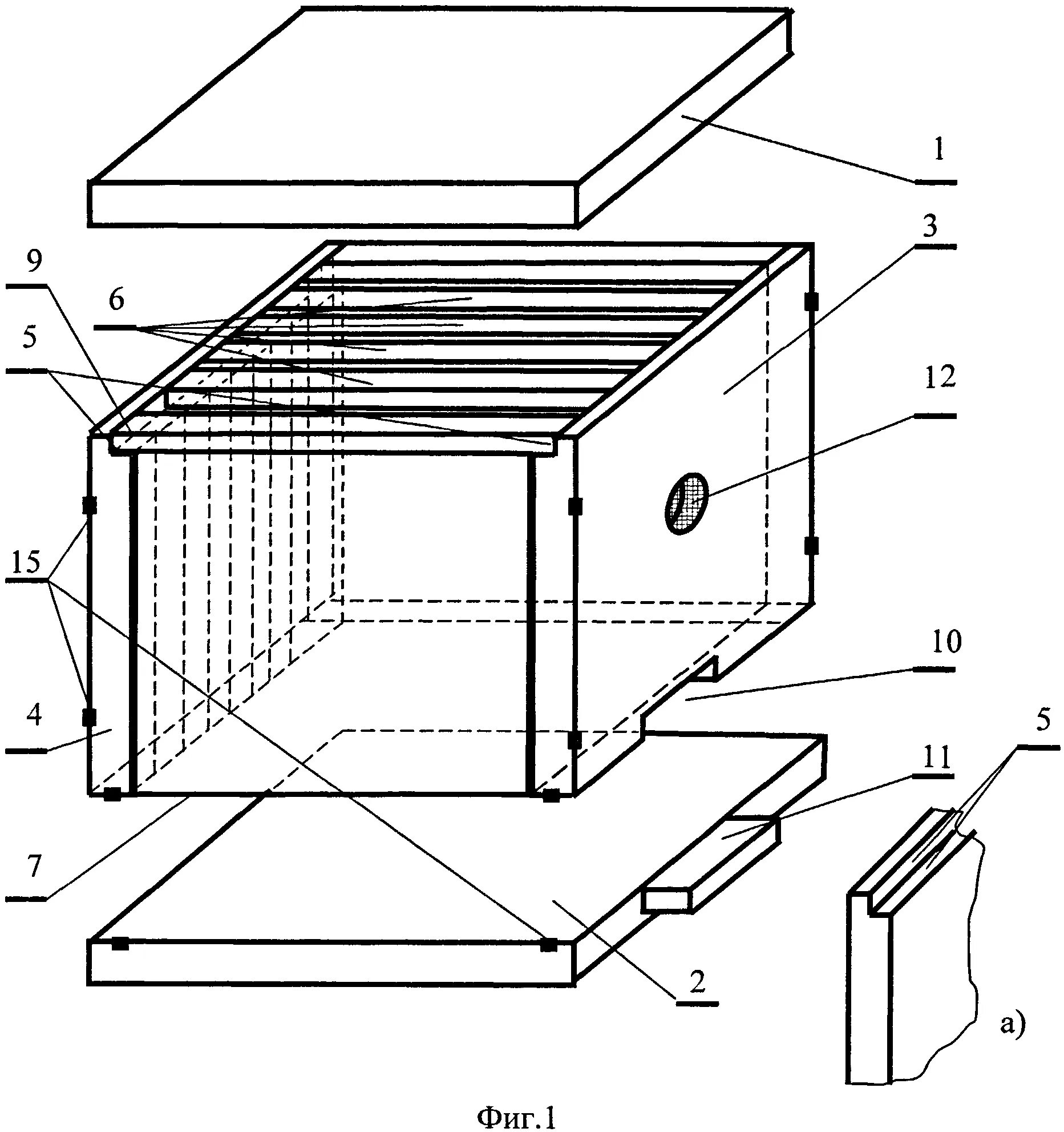
Улей самого простого устройства представляющий собой