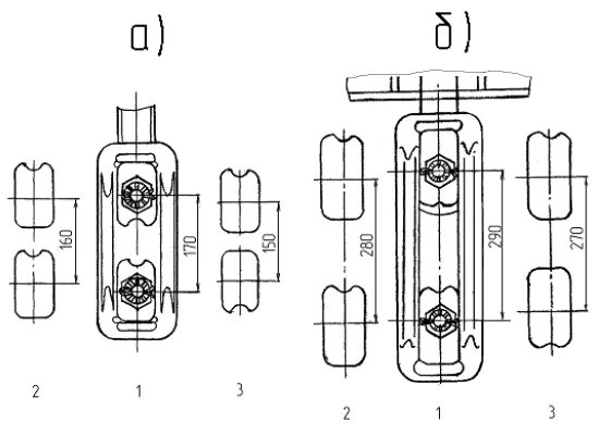
Укажите максимальную величину регулировки валиков опорных шайб