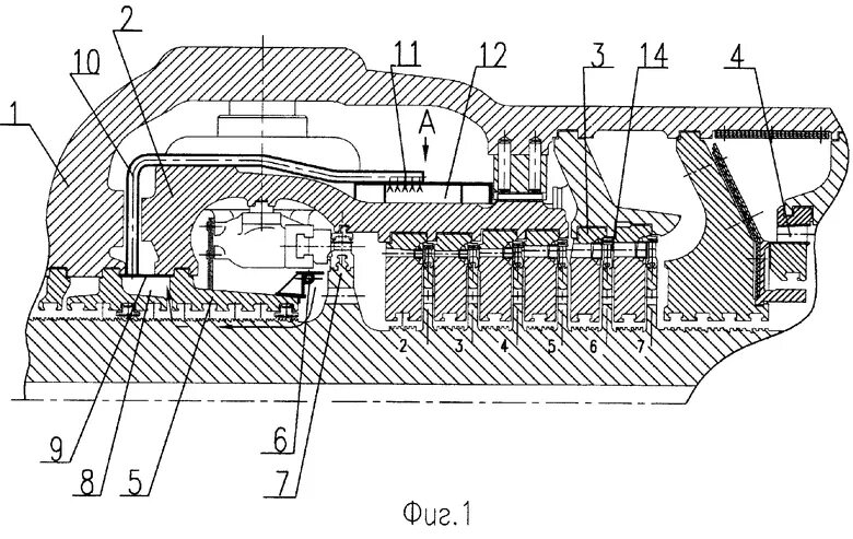
Цилиндр турбины