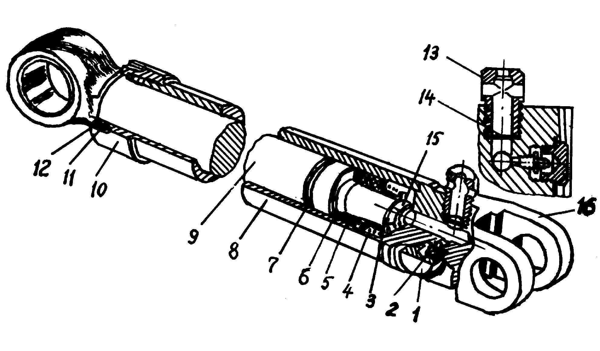
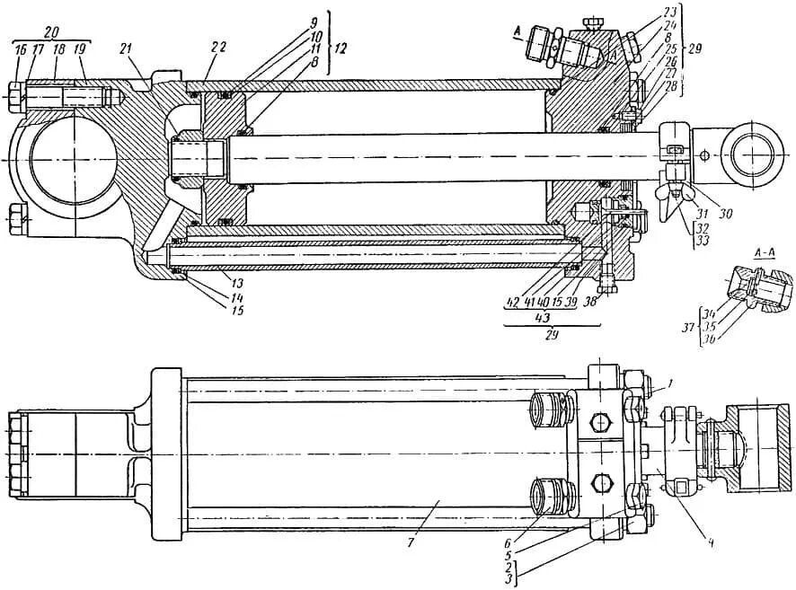
Цилиндр дт 75