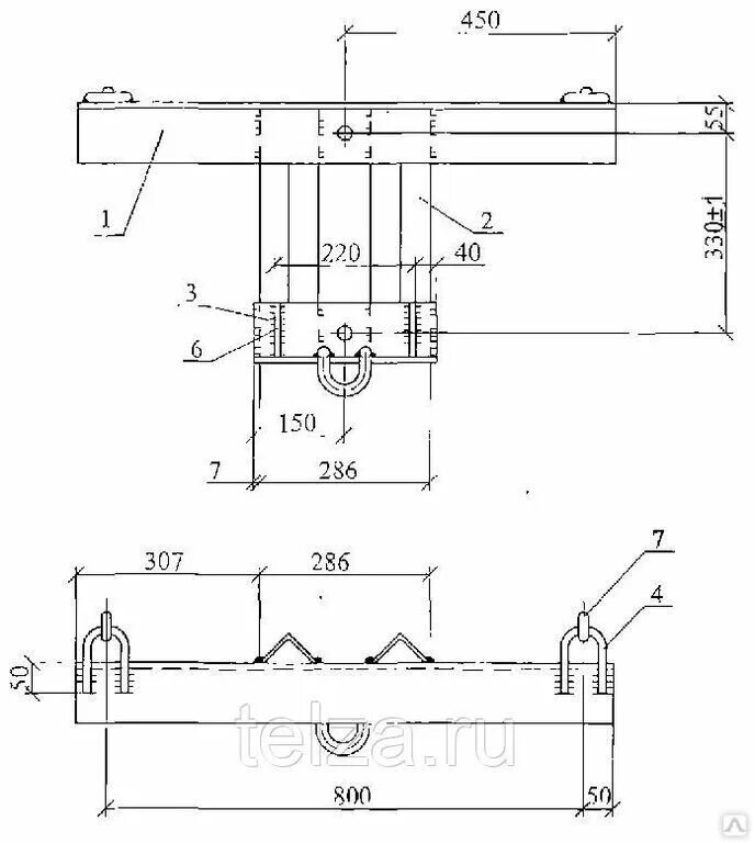
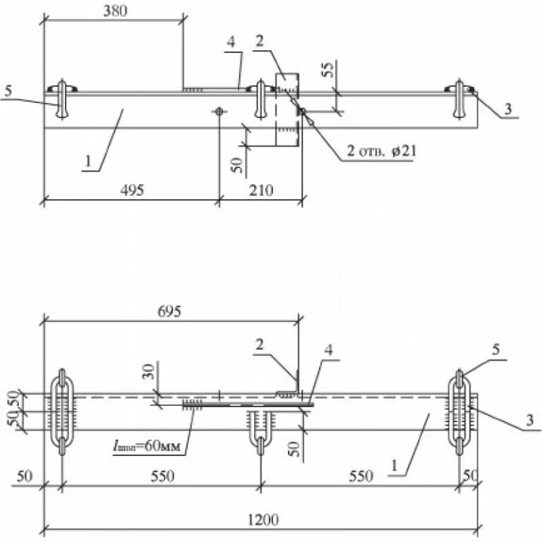
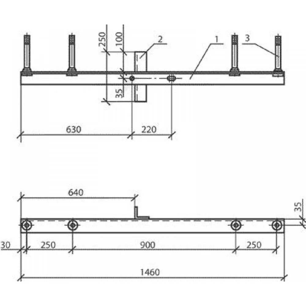
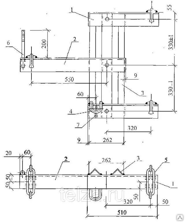
Траверса 2005