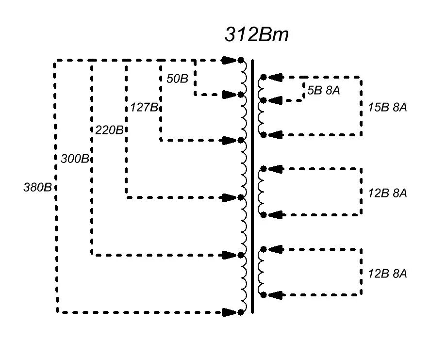
Трансформатор рд