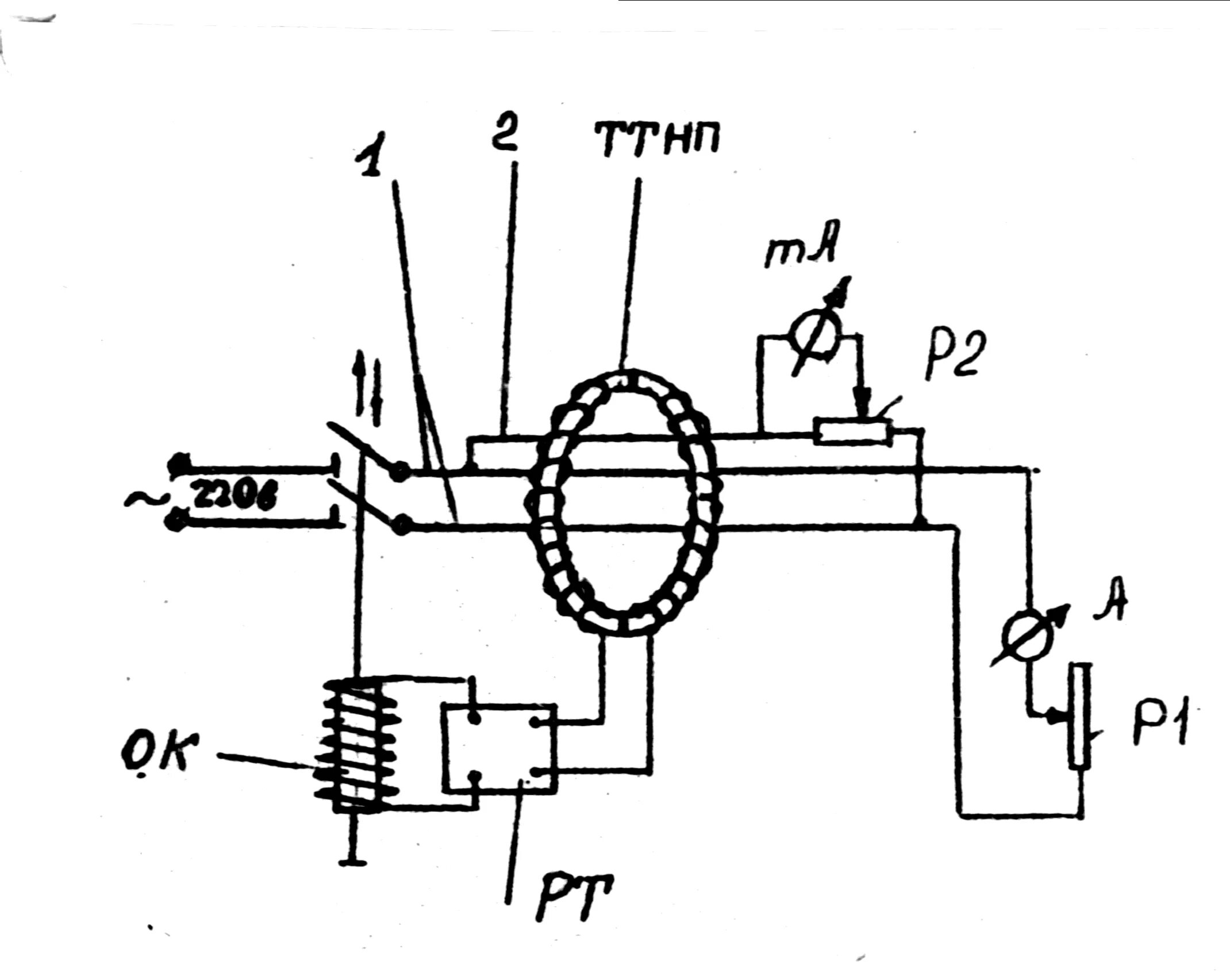
Трансформатор нулевой последовательности 10 кв