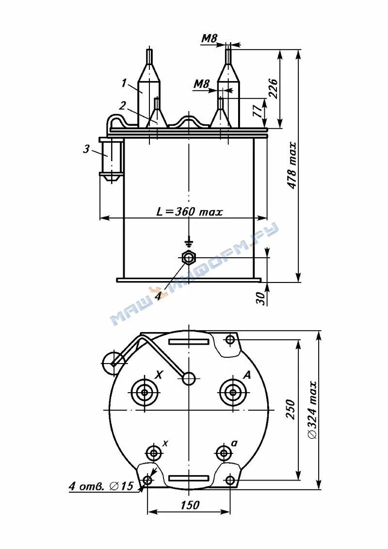
Трансформатор ном 10