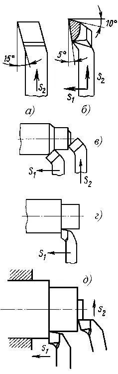
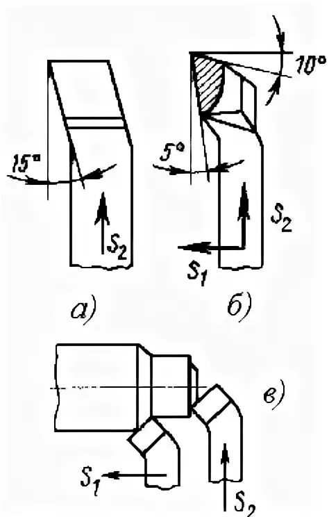
Торец уступа