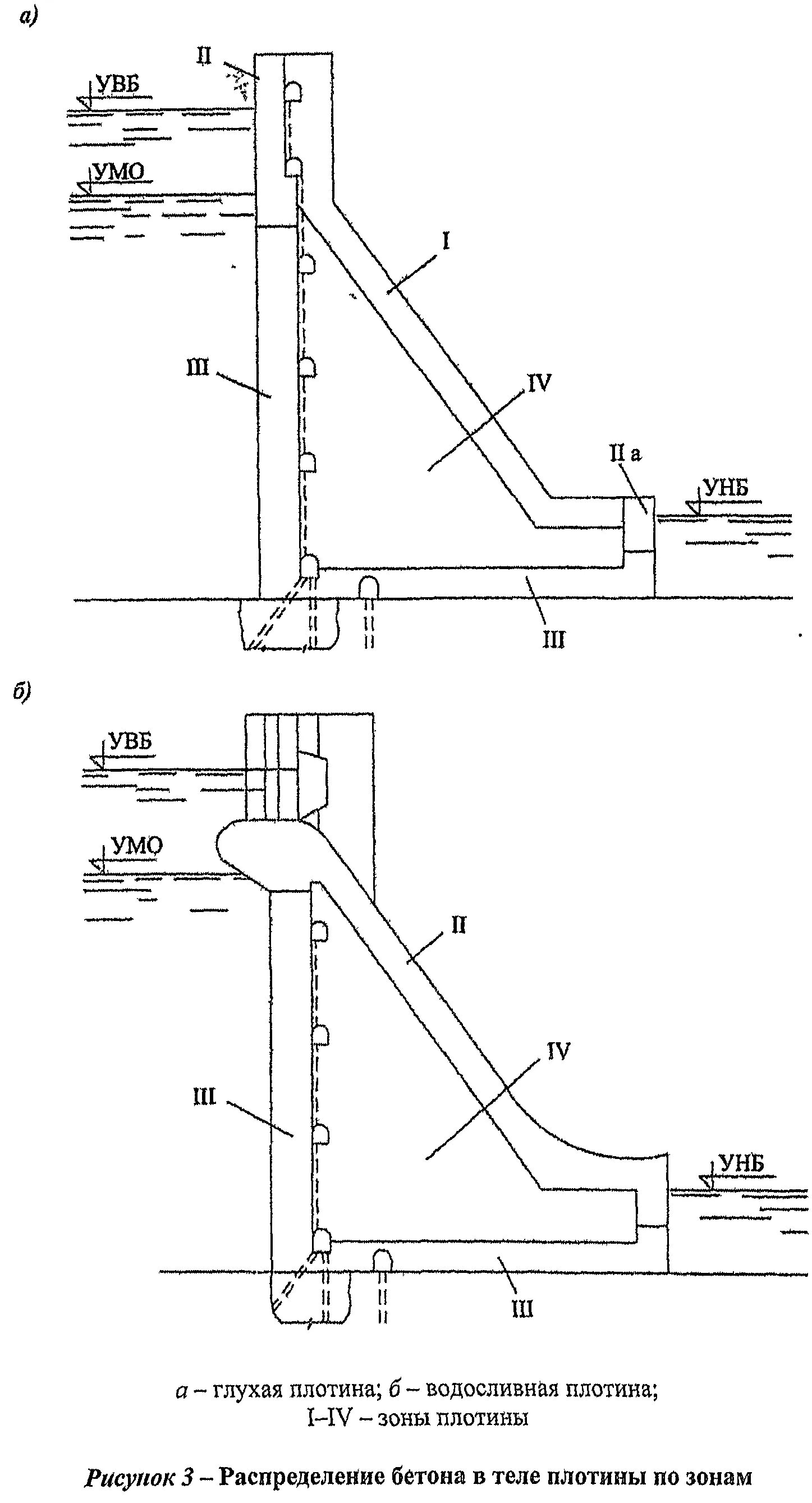
Толщина плотины