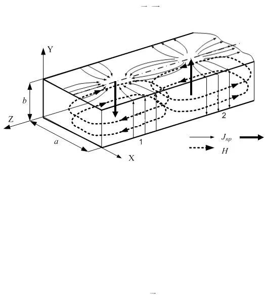
Типы волн в прямоугольном волноводе