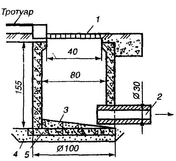
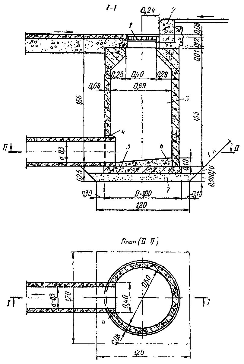
Типовой проект дождеприемных