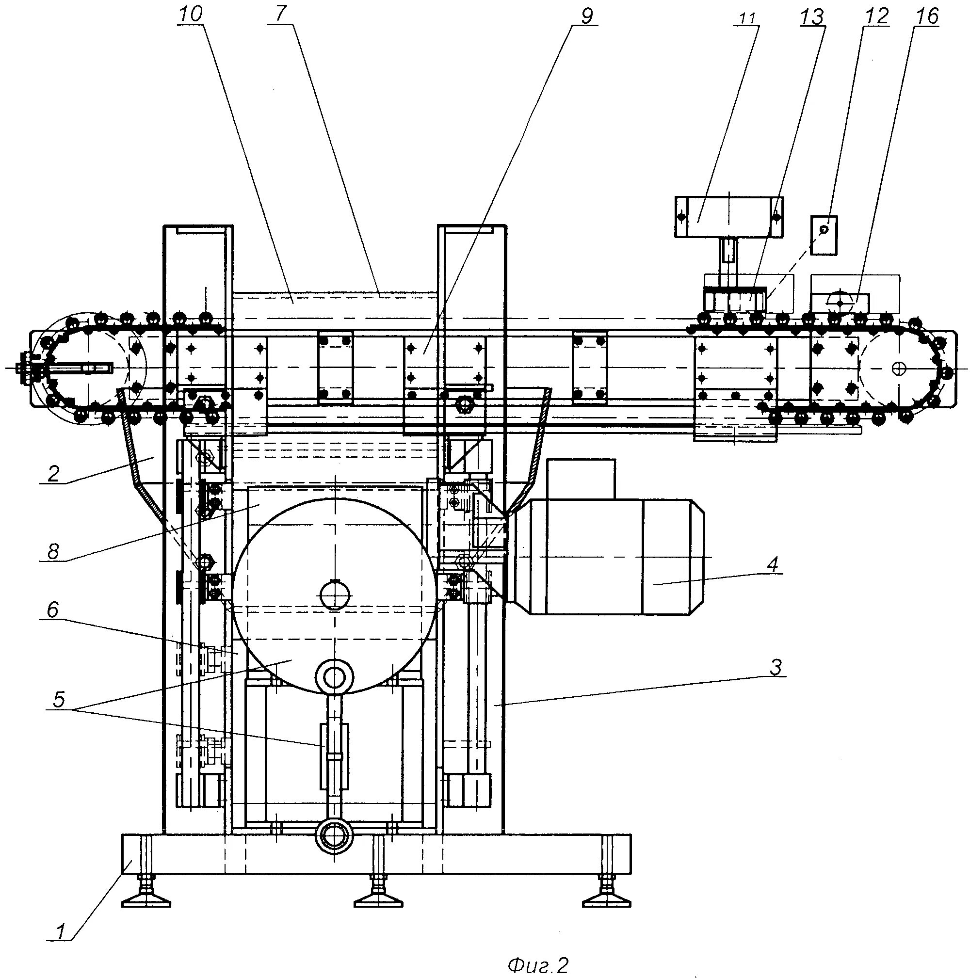
Тип устройства автоподачи