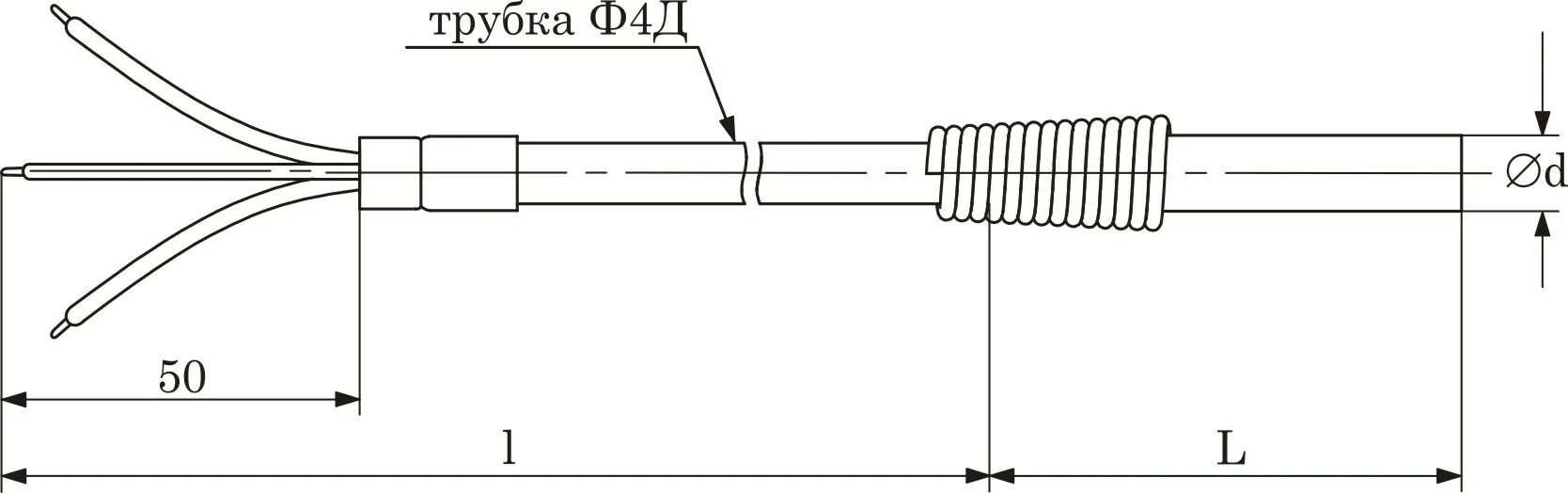
Термометры тп