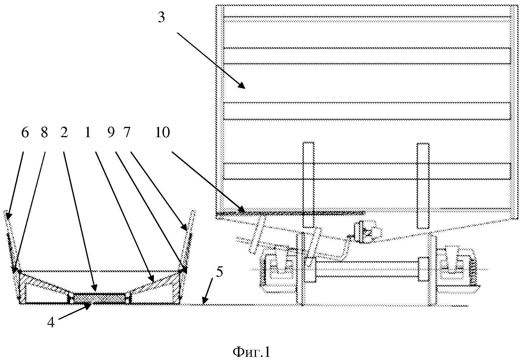
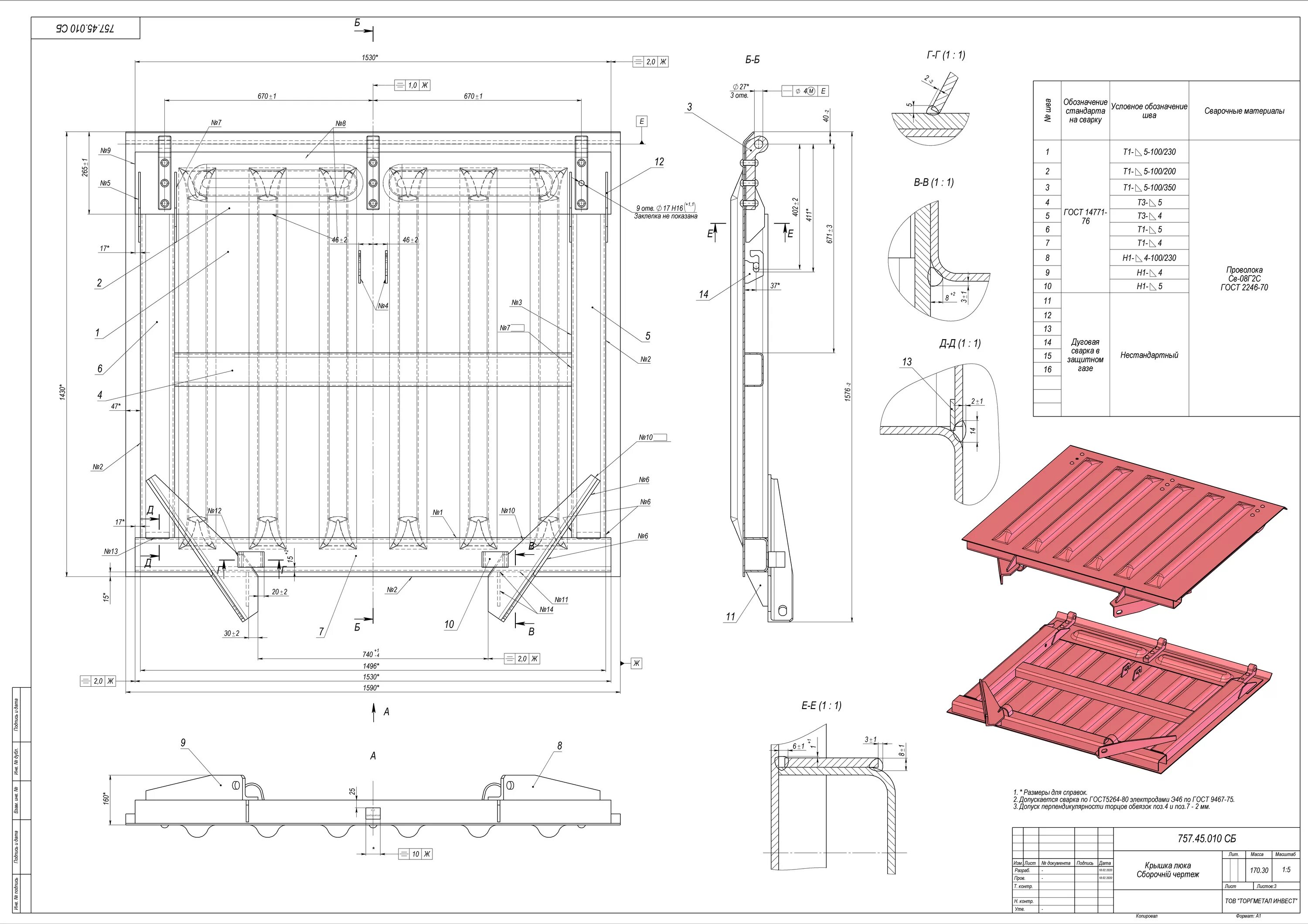
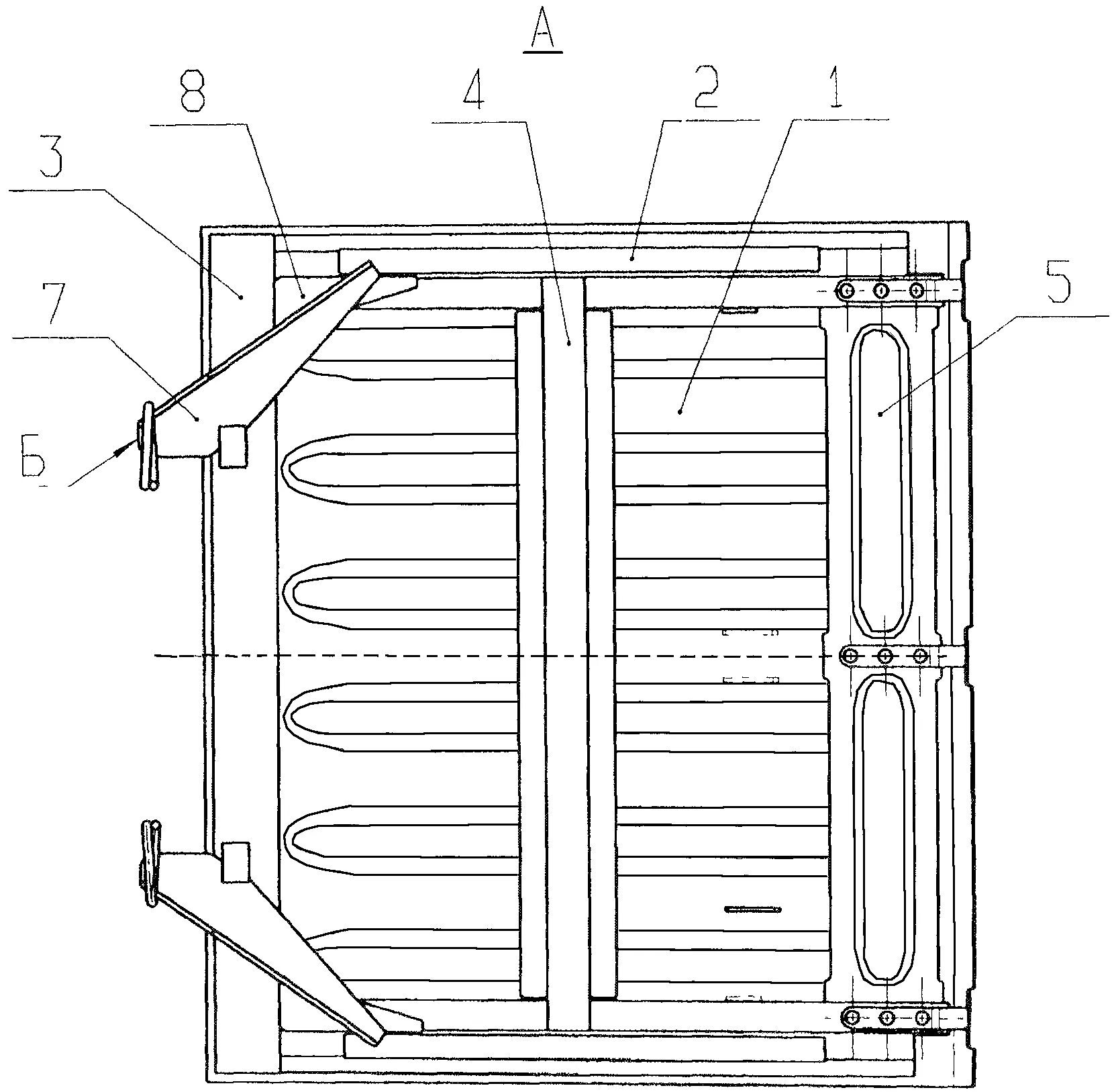
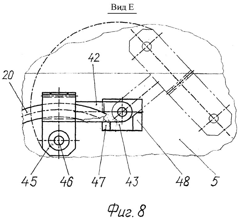
Температура нагрева крышек разгрузочных люков полувагонов