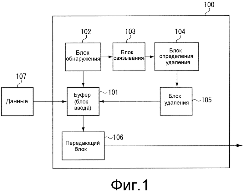
Теле передающее устройство