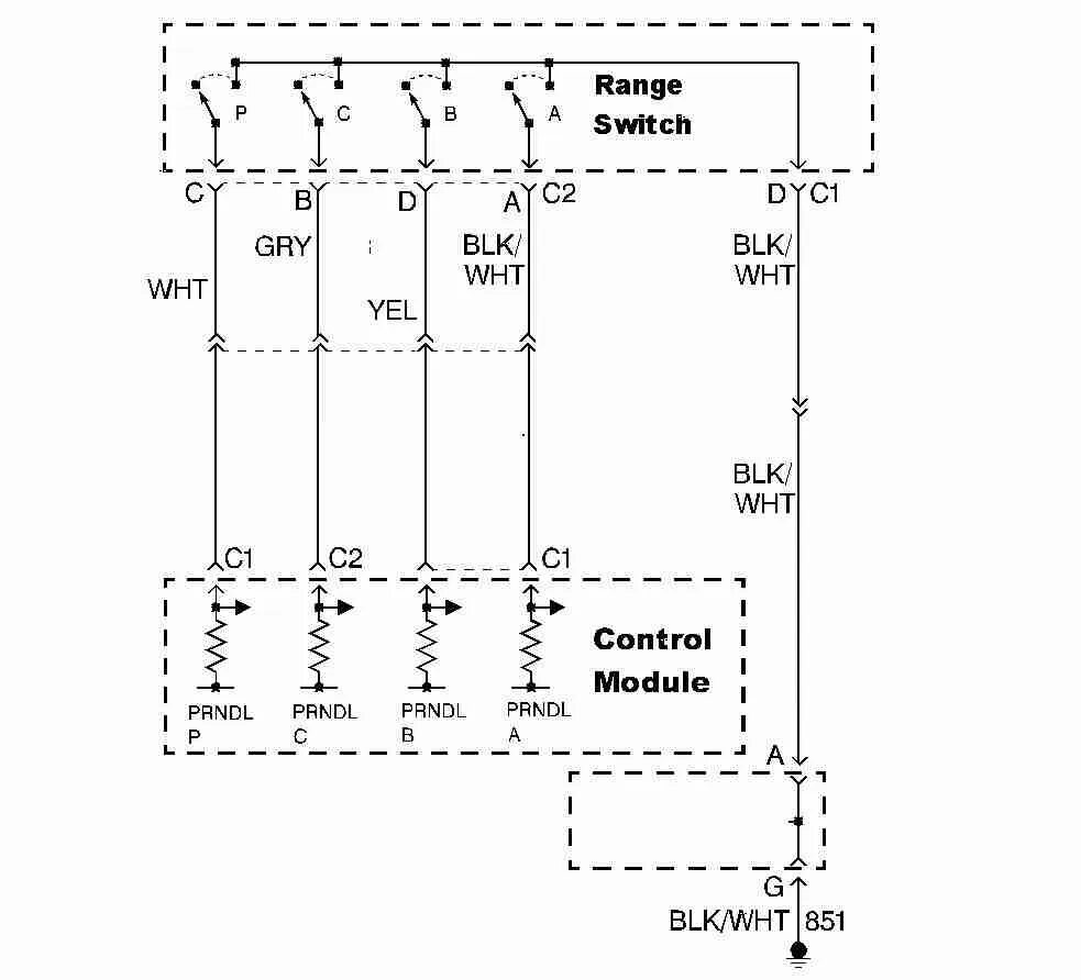
Switching range