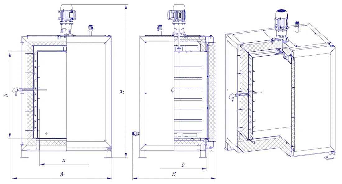
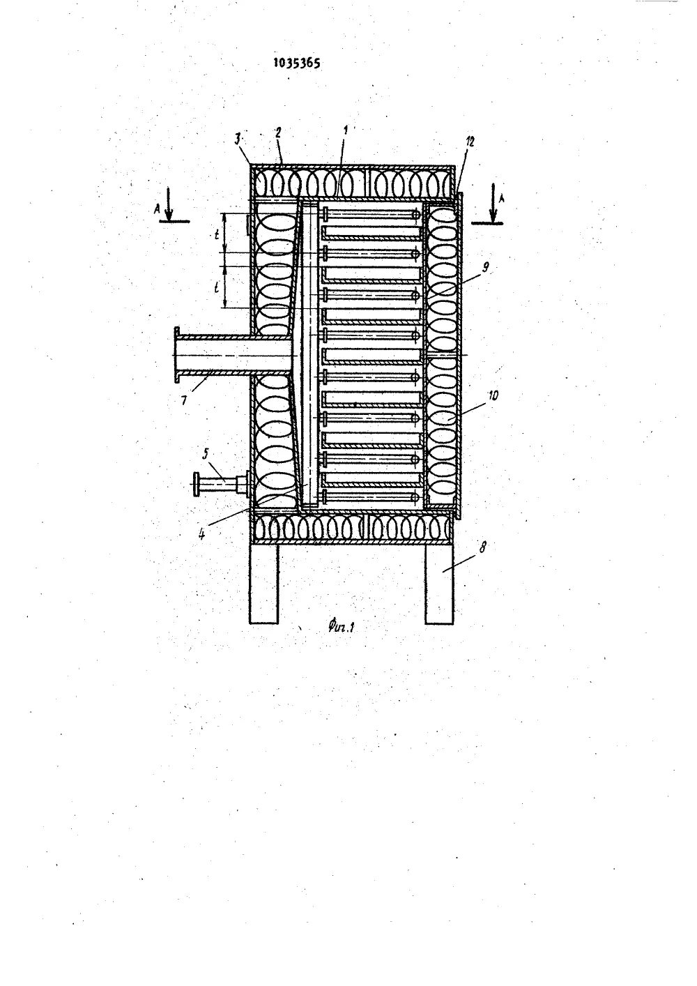
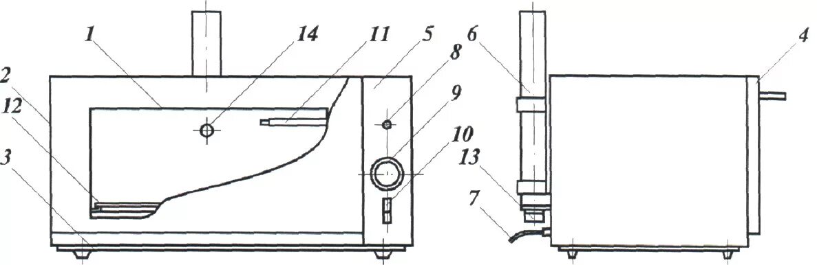
Сушильные шкафы устройство